Foram encontradas 50 questões.

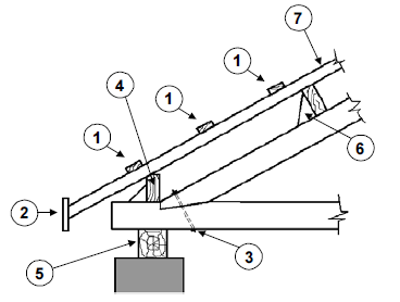
Para orientar a comunicação com o pessoal da obra, é preciso dominar a terminologia das peças que compõem uma obra. Com relação ao telhado esquematizado na figura acima, é correto afirmar que
Provas

Considerando as figuras acima, assinale a opção correta.
Provas
Disciplina: Engenharia de Telecomunicações
Banca: CESPE / CEBRASPE
Orgão: CEHAP-PB
Em referência à telefonia, ao PABX e ao PBX, assinale a opção incorreta.
Provas
Considerando que a instalação elétrica de uma residência deve ser dividida em circuitos terminais, assinale a opção correta.
Provas

Para o projeto de instalações elétricas, considere o quadro acima e o fator de demanda igual a 0,40. Considere ainda, as seguintes cargas instaladas: iluminação: 2.800 VA; TUG: 3.700 VA; e TUE: 16.200 W em KW ou KVA. Com base nessas informações, a provável demanda (PD) de um apartamento é igual a
Provas

As figuras acima apresentam três imagens do edifício Pirelli, carinhosamente chamado pelos milaneses de Pirellone. O projeto de Gio Ponti e a estrutura de Pier Luiggi Nervi, que representou, em 1956, construção pioneira, tem 127 m de altura e 30 pavimentos tipo. A figura 3 corresponde a um corte pelos pilares, e a figura 1 mostra a fachada reformada após um acidente aéreo em 2002.
Com base nas figuras acima, assinale a opção incorreta.
Provas
Considerando o conforto acústico e a figura 5 como referência, assinale a opção correta.
Provas
Ainda com base nas figuras de 1 a 5 apresentadas, julgue os seguintes itens.
I A figura 1 mostra o estádio em corte e em fase de construção, incluindo a grua de montagem.
II Na arquibancada das figuras 2 e 3, o número de apoios para as cadeiras foi reduzido a 5. As cadeiras apóiam-se indiretamente por meio de uma régua de distribuição.
III A estrutura em arco, que aparece na figura 4, sustenta a cobertura das arquibancadas por meio de tirantes que, assim como os arcos, são estruturas que trabalham à tração.
IV O projeto de construção do estádio João Havelange manisfesta linguagem high-tech, próxima à presente em muitas obras de Santiago Calatrava.
A quantidade de itens certos é igual a
Provas
Com base nas figuras de 1 a 5, julgue os próximos itens.
I A arquibancada superior, representada na figura 3, é muito íngreme, aproxima-se dos 45º, ou seja, 100% de inclinação.
II A inclinação do auditório é variável e se inicia próxima ao palco com 0% de inclinação, aumentando gradativamente dentro de uma curva parabólica, chamada de curva de visibilidade.
III No estádio João Havelange, não há curva de visibilidade: a arquibancada superior apresenta inclinação constante e acentuada, permitindo a visibilidade da borda do campo.
IV O forro do auditório apresenta uma curvatura caprichosa, à semelhança da platéia. Além de promover um espaço interno interessante, as curvas geram melhor condicionamento acústico e melhor visibilidade.
A quantidade de itens certos é igual a
Provas
Figuras para as questões de 26 a 29

Ainda considerando as figuras apresentadas e quanto à estrutura das escadas de emergência, julgue os itens seguintes.
I A altura resistente da escada da figura 1 está adequada para ser de concreto.
II Caso a escada da figura 2, seja de concreto, sua altura resistente está comprometida e precisará de vigas laterais, por exemplo.
III A altura resistente da escada da figura 3 é obtida pela soma da medida h com a espessura do lanço cotada em 20 cm.
IV Na armação da escada de concreto mostrada na figura 3, os degraus não foram contemplados. Em termos puramente estruturais, eles entram como peso morto.
Estão certos apenas os itens
Provas
Caderno Container