Foram encontradas 60 questões.
Texto II para responder à questão.
O padeiro
Levanto cedo, faço minhas abluções, ponho a chaleira no fogo para fazer café e abro a porta do apartamento – mas não encontro o pão costumeiro. No mesmo instante me lembro de ter lido alguma coisa nos jornais da véspera sobre a “greve do pão dormido”. De resto não é bem uma greve, é um lockout, greve dos patrões, que suspenderam o trabalho noturno; acham que obrigando o povo a tomar seu café da manhã com pão dormido conseguirão não sei bem o que do governo.
Está bem. Tomo o meu café com pão dormido, que não é tão ruim assim. E enquanto tomo café vou me lembrando de um homem modesto que conheci antigamente. Quando vinha deixar o pão à porta do apartamento ele apertava a campainha, mas, para não incomodar os moradores, avisava gritando:
– Não é ninguém, é o padeiro!
Interroguei-o uma vez: como tivera a ideia de gritar aquilo?
“Então você não é ninguém?
” Ele abriu um sorriso largo. Explicou que aprendera aquilo de ouvido. Muitas vezes lhe acontecera bater a campainha de uma casa e ser atendido por uma empregada ou outra pessoa qualquer, e ouvir uma voz que vinha lá de dentro perguntando quem era; e ouvir a pessoa que o atendera dizer para dentro: “não é ninguém, não senhora, é o padeiro”. Assim ficara sabendo que não era ninguém…
Ele me contou isso sem mágoa nenhuma, e se despediu ainda sorrindo. Eu não quis detê-lo para explicar que estava falando com um colega, ainda que menos importante. Naquele tempo eu também, como os padeiros, fazia o trabalho noturno. Era pela madrugada que deixava a redação de jornal, quase sempre depois de uma passagem pela oficina – e muitas vezes saía já levando na mão um dos primeiros exemplares rodados, o jornal ainda quentinho da máquina, como pão saído do forno.
Ah, eu era rapaz, eu era rapaz naquele tempo! E às vezes me julgava importante porque no jornal que levava para casa, além de reportagens ou notas que eu escrevera sem assinar, ia uma crônica ou artigo com o meu nome. O jornal e o pão estariam bem cedinho na porta de cada lar; e dentro do meu coração eu recebi a lição de humildade daquele homem entre todos útil e entre todos alegre; “não é ninguém, é o padeiro!”
E assobiava pelas escadas.
(Rubem Braga. Disponível em: http://www.sul21.com.br/jornal/2013/01/100-anos-do-mestre-da-cronica-rubem-braga/)
No primeiro parágrafo da crônica, o narrador se encontra fazendo a sua refeição e tem uma lembrança que desencadeia outras, apresentadas nos parágrafos seguintes. Acerca dos eventos que constituem essas lembranças só é correto afirmar, considerando os aspectos semântico-textuais, que
Provas
Acerca dos tipos de barramento de um computador e das conexões entre dispositivos, assinale a afirmativa correta.
Provas
Na equação 4F716 – 328 + 268 – 10101112 considere nb. Sendo n o número e b a sua base, o resultado da equação é
Provas
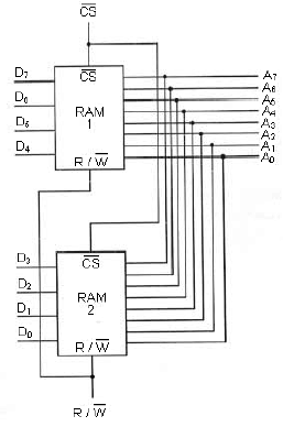
O circuito abaixo representa uma forma de expansão para memórias RAM. O endereço de localidade inicial, localidade final e a sua capacidade são, respectivamente,

Provas

Considerando o circuito apresentado pela figura, o valor de RX para que se obtenha na saída Vo uma tensão igual a 25 V é de
Provas
Analisando a figura abaixo, é correto afirmar que o valor do resistor R3, aproximadamente, será de

Considere:
V1 = 3,75V
V2 = – 1,25V
R1 = 12k
R2 = 5,6k
Vsaída = – 7V
Provas
Texto I para responder à questão.
A maldição do esquerdo- direitismo
O esquerdo- direitismo é uma crença semirreligiosa que se tornou a ideologia dominante do mundo no último século. Esquerdo-direitistas são pessoas que acreditam que todo o bem que existe no mundo provém de apenas uma fonte. Há dois tipos de esquerdo- direitistas – aqueles que acham que a fonte de todo o bem é o mercado e aqueles que acham que é o estado. A estes chamamos esquerdistas, aqueles são os direitistas.
No fundo, esquerdistas e direitistas são dois lados de uma mesma coisa. Ambos veem o mundo em apenas duas dimensões, sem profundidade, dividido entre bons e maus. Não admira que esquerdistas transformem-se em direitistas e vice-versa com tanta facilidade – alguns dos analistas mais ferrenhos da direita passaram a juventude militando nas facções mais radicais da esquerda.
Nos últimos [...] meses, os dois maiores ícones desse jeito simplista de ver o mundo morreram: Hugo Chávez (esquerda) e Margareth Thatcher (direita). Difícil imaginar dois personagens tão representativos desse modo oitocentista de ver o mundo. Todos os esquerdo-direitistas concordam que, entre os mortos, havia um santo e um demônio. Eles discordam apenas em relação a qual é qual.
A realidade é que nem Chávez nem Thatcher merecem a canonização. Ambos tiveram seus inegáveis méritos como líderes carismáticos, mas as duas biografias estão cheias de erros crassos. É que, ao contrário do que eles acreditavam, o esquerdo-direitismo está errado. A crença compartilhada por esquerdistas e direitistas de que o mundo está dividido ao meio, entre virtuosos e cretinos, simplesmente não tem lastro na realidade. Há virtudes e cretinices em cada um de nós e o mundo é muito mais cheio de sutilezas do que imaginavam nossos manuais ideológicos publicados nos séculos 18 e 19.
Prova disso está numa reportagem de capa recente publicada pela tradicional revista The Economist, a Bíblia liberal inglesa, que já foi um ícone esquerdo- direitista na época que essas coisas faziam sentido. A matéria de Economist declara que o novo modelo para o planeta são os países nórdicos. “Se você tivesse que renascer em algum lugar do mundo com talentos e renda médios, você ia querer ser um viking”, diz a revista.
Os países escandinavos, que nas décadas de 1970 e 1980 eram estados inchados, com impostos altíssimos, baixa competitividade e serviços públicos de estado socialista, quem diria, viraram exemplo para a revista que os liberais sempre adoraram. Isso porque, nos últimos anos, Suécia, Dinamarca, Noruega e Finlândia fizeram várias reformas e se tornaram países incríveis para se viver.
Para começar, o estado racionalizou seus gastos e criou as mais fantásticas políticas de transparência do mundo, permitindo à população fiscalizar seus governantes e reduzir a gastança. Na Suécia, políticos de alto escalão moram em quitinetes, lavam a própria louça e usam transporte público ou bicicleta. Além disso, a burocracia caiu quase a zero e esses países viraram paraísos do empreendedorismo, de fazer inveja ao Vale do Silício com suas histórias de sucesso (Skype, Angry Birds, Spotify).
Mas isso foi feito sem sucatear o estado nem prejudicar a população. As reformas do estado foram feitas com um objetivo claro: manter a qualidade do serviço público, ou, se possível, aumentá-la. Essa lógica ajuda a entender o que aconteceu com a saúde e a educação pública nesses países. O governo continua atuando, provendo serviços de qualidade, mas empresas privadas também podem entrar na competição. Os cidadãos recebem do governo vouchers de saúde e educação e podem decidir usá-los em escolas e hospitais públicos ou privados. Na Escandinávia, o estado continua grande, mas uma coisa fundamental mudou: ele agora funciona.
O sucesso nórdico expõe a grande falácia do esquerdo-direitismo: a crença de que só há um caminho certo. Para os esquerdistas, criar mais empresas estatais e ter impostos altos é sempre bom. Para os direitistas, é sempre ruim. A verdade, como costuma ser o caso, está no meio: é possível, ao mesmo tempo, melhorar os serviços e aumentar a eficiência. Basta para isso focar no cidadão, que é muito mais importante do que empresas e estado.
Essa é a mágica que os países nórdicos operaram nos últimos anos. Enquanto isso, o Brasil faz o contrário: por aqui conseguimos combinar impostos altos com serviços ruins. E, em vez de focar em reduzir uns e melhorar outros, continuamos desperdiçando tempo com Thatcher e Chávez.
(Denis Russo Burgierman. Disponível em: http://super.abril.com.br/blogs/mundo-novo/2013/04/15/a-maldicao-do-esquerdodireitismo/? utm_source=redesabril_jovem&utm_medium=twitter&utm_campaign=redesabril_super)
É possível aferir, em diversos momentos do texto, a perspectiva sobre o tema sendo discutido com a qual o autor se alinha, no entanto isso não é estabelecido logo de princípio. Em qual parágrafo o autor apresenta de forma explícita e direta a sua perspectiva sobre o tema?
Provas

O diagrama de contatos Ladder é uma técnica adotada para descrever uma função lógica, utilizando contatos e relés. O diagrama apresentado está associado à função lógica denominada
Provas
Texto II para responder à questão.
O padeiro
Levanto cedo, faço minhas abluções, ponho a chaleira no fogo para fazer café e abro a porta do apartamento – mas não encontro o pão costumeiro. No mesmo instante me lembro de ter lido alguma coisa nos jornais da véspera sobre a “greve do pão dormido”. De resto não é bem uma greve, é um lockout, greve dos patrões, que suspenderam o trabalho noturno; acham que obrigando o povo a tomar seu café da manhã com pão dormido conseguirão não sei bem o que do governo.
Está bem. Tomo o meu café com pão dormido, que não é tão ruim assim. E enquanto tomo café vou me lembrando de um homem modesto que conheci antigamente. Quando vinha deixar o pão à porta do apartamento ele apertava a campainha, mas, para não incomodar os moradores, avisava gritando:
– Não é ninguém, é o padeiro!
Interroguei-o uma vez: como tivera a ideia de gritar aquilo?(I)
“Então você não é ninguém?
” Ele abriu um sorriso largo. Explicou que aprendera aquilo de ouvido. Muitas vezes lhe acontecera bater a campainha de uma casa e ser atendido por uma empregada ou outra pessoa qualquer, e ouvir uma voz que vinha lá de dentro perguntando quem era; e ouvir a pessoa que o atendera dizer para dentro: “não é ninguém, não senhora, é o padeiro”. Assim ficara sabendo que não era ninguém…
Ele me contou isso sem mágoa nenhuma, e se despediu ainda sorrindo. Eu não quis detê-lo para explicar que estava falando com um colega, ainda que menos importante. Naquele tempo eu também, como os padeiros, fazia o trabalho noturno(II). Era pela madrugada que deixava a redação de jornal, quase sempre depois de uma passagem pela oficina – e muitas vezes saía já levando na mão um dos primeiros exemplares rodados, o jornal ainda quentinho da máquina, como pão saído do forno(III).
Ah, eu era rapaz, eu era rapaz naquele tempo! E às vezes me julgava importante porque no jornal que levava para casa, além de reportagens ou notas que eu escrevera sem assinar, ia uma crônica ou artigo com o meu nome. O jornal e o pão estariam bem cedinho na porta de cada lar; e dentro do meu coração eu recebi a lição de humildade daquele homem entre todos útil e entre todos alegre; “não é ninguém, é o padeiro!”
E assobiava pelas escadas.
(Rubem Braga. Disponível em: http://www.sul21.com.br/jornal/2013/01/100-anos-do-mestre-da-cronica-rubem-braga/)
Julgue os itens abaixo.
I. Em “[...] como tivera a ideia de gritar aquilo?” a palavra destacada funciona como advérbio interrogativo.
II. No trecho “[...] eu também, como os padeiros, fazia o trabalho noturno.”, a forma “como” atua na função de advérbio de modo.
III. No excerto “[...] o jornal ainda quentinho da máquina, como pão saído do forno.”, “como” é uma conjunção coordenativa.
Está(ão) correta(s) apenas a(s) afirmativa(s)
Provas

Considerando a primeira aproximação aplicada aos diodos do circuito, conforme mostra a figura, a corrente total será igual a
Provas
Caderno Container