Foram encontradas 50 questões.
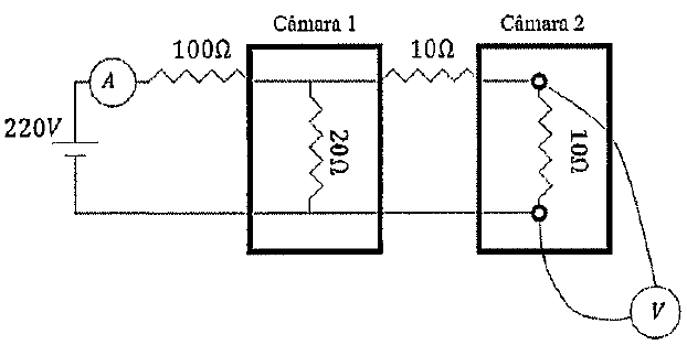
Examine a figura abaixo:

A temperatura de duas câmaras é aumentada através de uma sequência de resistores em série e paralelo, conforme o esquema elétrico na figura acima. Um militar foi designado para medir a tensão da câmara 2 e a corrente total do circuito e enviar o resultado o mais rápido possível ao seu superior. Considerando a tensão de entrada de 220V, assinale a opção correta que apresenta os valores que foram lidos no amperímetro e no voltímetro.
Provas
Um bloco de gelo de 2 kg de massa a -20ºC é colocado em contato com 1 00g de água em estado líquido a 60ºC. Supondo que o sistema se encontra em equilíbrio térmico após um longo intervalo de tempo e que não haja troca de calor com o ambiente, calcule a temperatura de equilíbrio do sistema e assinale a opção correta.
Dados: Calor específico da água= 1 cal/gºC.
Calor específico do gelo= 0,5 cal/gºC.
Calor latente da água de solidificação= 80 cal/g.
Provas
Assinale a opção que completa corretamente as lacunas da sentença abaixo.
Antes da invenção da agulha giroscópica, a bússola era a principal ferramenta de navegação a bordo. Graças da Terra, a bússola sempre aponta para o da Terra, porque a sua agulha possui .
Provas
Um navio parte para realizar uma missão. Devendo sair do Arsenal de Guerra em direção á entrada da Bala de Guanabara na velocidade de 1 O nós, após rumar por 30 minutos para sudoeste até as Ilhas Cagarras, distante de 5 milhas náuticas da entrada da bala e esperar em repouso por 1 hora. Em seguida, o navio deve rumar para o sul a 20 nós de velocidade, por 2 horas. Considerando a distância do arsenal até a entrada da Bala de 10 milhas náuticas, determine a velocidade média em m/s desse percurso e assinale a opção correta.
Dados: 1 nó 1,852km/h=0,514 m/s.
1 milha náutica = 1,852 m.
Provas
Examine a figura abaixo:

Um marinheiro é responsável por uma máquina que aciona um conjunto de três polias de raios diferentes, conforme a figura acima. A escolha de qual polia ele deve usar depende da tarefa a ser realizada, uma vez que a velocidade angular do motor é sempre constante. Logo, a correia deve mudar de posição, caso a tarefa exija maior ou menor velocidade. Se a tarefa exigir maior velocidade angular nas polias 2 e 3, assinale a opção que apresenta a configuração que o marinheiro deverá escolher.
Provas
Ao se tentar abrir uma porta com um chaveiro que contém várias chaves parecidas, há quem afirme que a porta será aberta somente na última tentativa. Pedro recebeu a tarefa de guardar equipamentos no paiol e, para tal, deram-lhe um chaveiro contendo oito chaves. Assim, calcule a probabilidade de que ele acerte somente na última tentativa e assinale a opção correta.
Provas
Mark the option with lhe correct sequence of possessive adjectives or possessive pronouns.
I - This isn't your book. lt is __ .
II - Here's:a photo of Ann and David with __ new baby.
III - New York City is famous for __ tall buildings.
IV - John is very happy with __ new car.
V - My mother and I drive to work every day. My car is old but is new.
Provas
Read the text below and answer lhe question.
My name is Tim and I am 16 years old. I live with my family in a nice house near the mountains. I __ (have) two brothers and one sister. Our father __ (teach) Mathematics at our local school, and our mother __ (be) a doctor at a big hospital not far away. Our grandparents also __ (live) with us. They __ (be) a bit old but still very strong.
Use the verbs in parentheses to fill in the blanks in the text. Then mark the option below which contains the correct sequence.
Provas
Mark the option that is grammatically INCORRECT.
Provas
Mark the option below with the correct preposition to fill in the blank in the sentence.
Our plane will depart __ five minutes. Hurry up!
Provas
Caderno Container