Foram encontradas 60 questões.
- Engenharia de SoftwareUML: Unified Modeling LanguageDiagrama de Atividades
- Engenharia de SoftwareUML: Unified Modeling LanguageDiagrama de Classes
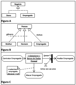
Um dos objetivos da UML é permitir a interoperabilidade entre ferramentas de modelagem visual, sendo necessária a especificação de diferentes tipos de diagramas usados para representar diferentes conceitos. Considere os seguintes diagramas UML.

Com relação aos diagramas UML apresentados, analise as afirmativas a seguir:
I. A figura A ilustra um Diagrama de Classes representando a realização de dependência (realization Dependency) da classe Negócio pela combinação das classes Dono e Empregado.
II. A figura B ilustra um Diagrama de Classes representando o agrupamento de generalizações (GeneralizationSet) do conjunto gênero.
III. A figura C ilustra um Diagrama de Atividade com nó de armazenamento (DataStoreNode).
Está correto o que se afirma em:
Provas
Analise o código Java a seguir:

A soma dos valores exibidos pelo comando println é:
Provas
Analise o código Java a seguir:

Com referência ao texto atribuído à variável tmp, o resultado exibido contém:
Provas
Analise o código C# exibido a seguir:

O resultado produzido no console é:
Provas
Analise o código C# exibido a seguir:

O resultado produzido no console é:
Provas
Com relação aos arquivos XAML do framework .NET produzidos pela IDE do Visual Studio durante o processo de desenvolvimento de uma aplicação móvel para o Windows Phone 8.1, analise as afirmativas a seguir:
I. Um arquivo XAML deve ter mais de um elemento raiz.
II. Window, Page, ResourceDictionary e Application são elementos do tipo raiz.
III. O namespace padrão do WPF é o http://schemas.microsoft.com/winfx/2006/xaml/presentation.
Está correto somente o que se afirma em:
Provas
Provas
Com relação ao arquivo AndroidManifest.xml de um projeto criado no Android Studio, analise as afirmativas a seguir:
I. É a base de uma aplicação Android. Ele é obrigatório e deve ficar na mesma pasta raiz do projeto e contém todas as configurações necessárias para a execução da aplicação.
II. É obrigatório que cada Activity do projeto esteja declarada, caso contrário não será possível utilizá-la.
III. A primeira linha do arquivo é a tag <Manifest> que declara o pacote principal do projeto.
Está correto somente o que se afirma em:
Provas
Considere o seguinte código de testes na linguagem C#:

Sobre o código de testes apresentado e o resultado da sua execução, é correto afirmar que:
Provas
De um grupo de controle para o acompanhamento de uma determinada doença, 4% realmente têm a doença. A tabela a seguir mostra as porcentagens das pessoas que têm e das que não têm a doença e que apresentaram resultado positivo em um determinado teste.

Entre as pessoas desse grupo que apresentaram resultado positivo no teste, a porcentagem daquelas que realmente têm a doença é aproximadamente:
Provas
Caderno Container