Foram encontradas 60 questões.
Os tecidos para estofamento devem ser selecionados para resistir ao desgaste natural no fim a que se destinam. Os tecidos para uso comercial apresentam, em sua etiqueta, classificação quanto à resistência ao desgaste, ao sol e ao fogo. Sendo assim, associe a coluna da direita com a da esquerda, segundo Ching (2006).
I) Linho
II) Acetato
III) Acrílico
IV) Vinil
V) Poliéster
( ) Não amassa, resiste à abrasão, tem estabilidade dimensional.
( ) Imita a seda ou a lã, aceita bem corantes, pode amassar.
( ) Baixa flexibilidade, amassa com facilidade, é boa para cortinados.
( ) Derivado do caule da planta com o mesmo nome. Extremamente forte, tende a ser quebradiço e amassar facilmente.
( ) Durável, fácil de limpar; simula o couro ou a camurça.
Assinale a alternativa que contém a sequência CORRETA de associação, de cima para baixo.
Provas
Com relação à operação de portas, de acordo com Ching (2006), marque (V) para as sentenças VERDADEIRAS e (F), para as FALSAS.
( ) As porta sanfonadas podem ser usadas para uso interno e externo.
( ) As portas embutidas especiais utilizam-se de painéis que podem correr para dentro de uma abertura na parede ou um vão.
( ) As portas corrediças embutidas são usadas onde a abertura normal de uma porta interferiria com o uso do espaço.
( ) As portas corrediças sobrepostas permitem 100% de abertura.
( ) As portas basculantes consistem em seções de portas articuladas que giram em trilhos suspensos até uma posição horizontal acima do vão.
Assinale a alternativa que contém a sequência CORRETA de cima para baixo.
Provas
Associe a coluna da direita com a da esquerda, de acordo com as características de janelas quanto ao modo de operação, segundo Ching (2006).
I) Guilhotina
II) Persiana
III) Sacada
IV) Claraboia
( ) Usadas em climas quentes, onde tanto a ventilação quanto a privacidade são necessárias. Podem direcionar o f luxo de entrada de ar.
( ) Não há proteção contra chuvas. Garante 50% de ventilação.
( ) Podem consistir em unidades fixas ou móveis. Fornecem luz natural sem interferir com a disposição do mobiliário e mantêm a privacidade ou bloqueiam vistas desnecessárias.
( ) Usam uma combinação de janelas com caixilhos fixos ou móveis e claraboias para proteger uma parte do espaço interno que se projeta para fora da edificação.
Assinale a alternativa que contém a sequência CORRETA de associação, de cima para baixo.
Provas
Associe a segunda coluna com a primeira, quanto aos tipos de janelas por modo de operação, segundo Neufert (2007).
I)
II)
III)
IV)
V)
( ) Basculante com eixo central na horizontal.
( ) Giratória.
( ) Correr horizontal.
( ) Basculante presa na moldura superior.
( ) Guilhotina.
Assinale a alternativa que contém a sequência CORRETA de associação, de cima para baixo.
Provas
Associe a segunda coluna com a primeira, quanto aos tipos de portas por modo de operação, segundo Ching (2001).
I) 
II)
III)
IV)
V)
( ) Correr.
( ) Articulada.
( ) Correr sobreposta.
( ) Correr embutida.
( ) Pivotante.
Assinale a alternativa que contém a sequência CORRETA de associação, de cima para baixo.
Provas
Associe a segunda coluna com a primeira, quanto aos tipos de portas, segundo Ching (2001).
I)
II)
III)
IV)
V)
( ) Com janela
( ) Veneziana integral
( ) Com almofada
( ) Tela
( ) Francesa
Assinale a alternativa que contém a sequência CORRETA de associação, de cima para baixo.
Provas
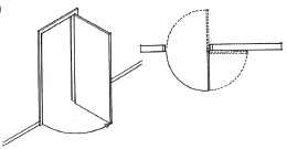
Com base na figura abaixo, de acordo com Ching (2001), identifique os elementos básicos de uma porta e escolha a opção que apresenta a sequência CORRETA, em ordem crescente.

Provas
Com relação aos tipos de aberturas, segundo Ching (2001), associe a segunda coluna com a primeira.
I)
II)
III)
IV)
V)
VI)
VII)
( )
( )
( )
( )
( )

()
( )
Assinale a alternativa que contém a sequência CORRETA de associação, de cima para baixo.
Provas
Analise a figura abaixo (vista frontal do closet) e marque a alternativa que corresponde ao corte AA do móvel.

Provas
Analise a figura abaixo (planta de um rack) e marque a alternativa que corresponde à vista frontal do móvel.

Provas
Caderno Container