Foram encontradas 40 questões.
Analise a seguinte placa de identificação de um motor elétrico.

A respeito desse motor, é correto afirmar:
Provas
- EletrotécnicaCircuitos Elétricos em Eletricidade
- EletrotécnicaCircuitos de Corrente Contínua e de Corrente Alternada
Analise o circuito a seguir.

Para esse circuito, o circuito equivalente de Norton será formado por:
Provas
Analise o quadro a seguir em que se enumerou quatro critérios de dimensionamento.

Esses critérios são utilizados para o dimensionamento ou especificação de:
Provas
- EletrotécnicaCircuitos Elétricos em Eletricidade
- EletrotécnicaCircuitos de Corrente Contínua e de Corrente Alternada
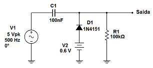
Analise o circuito a seguir, considerando Vγ = 0,6 V.

Baseado nessas informações, assinale a alternativa que apresenta a forma de onda de saída.
Provas
Analise o quadro de distribuição (QD), a seguir.

Com relação a esse QD, é correto afirmar:
Provas
Observe a tela de um osciloscópio a seguir.

Com relação aos sinais apresentados nesse osciloscópio, é correto afirmar:
Provas
- EletrotécnicaCircuitos Elétricos em Eletricidade
- EletrotécnicaCircuitos de Corrente Contínua e de Corrente Alternada
Analise a representação fasorial a seguir.

Com relação a essa representação, é correto afirmar:
Provas
- EletrotécnicaCircuitos Elétricos em Eletricidade
- EletrotécnicaCircuitos de Corrente Contínua e de Corrente Alternada
Analise o circuito a seguir em que o instrumento utilizando a escala de 10 VDC apresenta uma sensibilidade de 1 kΩ/V.

Nesse caso, a indicação desse instrumento será igual a:
Provas
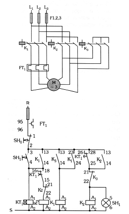
Analise os diagramas de força e de comando a seguir.

Com relação a esses diagramas, é correto afirmar:
Provas
Analise o diagrama unifilar a seguir.

Esse diagrama representa a utilização de um(a):
Provas
Caderno Container