Foram encontradas 60 questões.
Uma esfera metálica com raio de 20 mm é submetida à pressão uniforme de 5 MPa.
Sabendo que o aço possui módulo de elasticidade igual a 200 GPa, coeficiente de Poisson de 0,30 e fazendo \( \pi=3 \), a variação de volume dessa esfera sob a ação desse carregamento é de
Provas
A figura a seguir apresenta uma viga metálica biapoiada, submetida a uma carga uniformemente distribuída.

Sabendo que o módulo de elasticidade longitudinal do aço vale 200 GPa e a seção transversal da viga é quadrada de lado igual a 100 mm, o deslocamento transversal no meio do vão dessa viga vale
Provas
O elemento apresentado na figura a seguir encontra-se em estado plano de tensão.

Tabela: \( \sqrt2=1,4 \); \( \sqrt3=1,7 \); \( \sqrt5=2,2 \).
Nesse elemento, a máxima tensão cisalhante e a tensão equivalente de von Mises valem, respectivamente,
Provas
A figura a seguir apresenta a laminação a frio de um tarugo de alumínio com largura total de 100 mm.

(Dimensões em mm; o desenho não se encontra em escala)
Sabendo que o alumínio possui tensão de escoamento de 105 MPa e desprezando o atrito entre os cilindros e o tarugo, a carga máxima para reduzir o tarugo de 2,5 mm de espessura para 0,5 mm de espessura vale
Provas
Uma barra de aço tem suas extremidades mantidas rígidas durante um teste em que foi aquecida de uma temperatura inicial de 20°C à temperatura de 100°C.
Sabendo que o módulo de elasticidade e o coeficiente linear de expansão térmica do aço valem 200 GPa e 20 x 10-6 °C-1, a energia de deformação por unidade de volume nessa barra vale
Provas
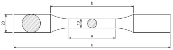
A figura a seguir apresenta um corpo de prova para a realização de um ensaio de tração a temperatura ambiente.

(Dimensões em mm; desenho fora de escala)
Nesse corpo de prova, o valor mínimo para a parte útil é de
Provas
A figura a seguir apresenta a curva S-N de um material metálico.

Considerando que uma barra de aço desse material está submetida a uma tensão normal senoidal com amplitude de 300 MPa e período de 100 s, o tempo total até a falha dessa barra é de, aproximadamente,
Provas
A figura a seguir ilustra as transformações por difusão envolvendo a decomposição da austenita.

Os resultados dessas transformações indicados pelos números (1), (2) e (3) são, respectivamente,
Provas
O difratograma de um material em pó apresenta um pico para ângulo de difração igual a 60°. Sabendo que, nesse teste, foi usada radiação X monocromática com comprimento de onda de 0,15nm e que a ordem de reflexão é 1, o espaçamento interplanar para esse pico vale
Provas
A figura a seguir apresenta, esquematicamente, a estrutura cristalina do alumínio.

O fator de empacotamento atômico dessa estrutura é
Provas
Caderno Container