Foram encontradas 50 questões.
A representação da planta baixa é caracterizada por:
Provas
No que diz respeito às características arquitetônicas, como é denominado o pavimento que se repete ao longo de uma edificação?
Provas
Qual planta indica a forma e as dimensões do terreno, dos lotes e das quadras vizinhas?
Provas
Observe o desenho a seguir.

Quantos metros de arame farpado seriam necessários para cercar o perímetro do terreno esquematizado acima, constituída de sete fiadas de arame farpado?
Provas
Analise a figura a seguir.

Assinale a opção que apresenta corretamente os elementos destacados na figura apresentada.
Provas
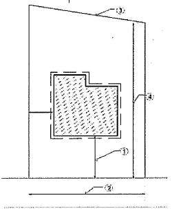
Observe o desenho abaixo.

No desenho apresentado, identifique corretamente os elementos representados pelos números e assinale a opção correta.
Provas
O carimbo de uma prancha de desenho deve estar disposto de tal forma que permita principalmente a identificação
Provas
Na escala 1:250, uma distância de 200 metros corresponde a quantos centímetros?
Provas
Analise o desenho a seguir.

No desenho apresentado acima, o número 1.00 representa:
Provas
Como é denominado o conjunto de peças que tem a finalidade de manter a tesoura no plano vertical, evitando a inclinação proveniente do próprio movimento do telhado?
Provas
Caderno Container