Foram encontradas 50 questões.
Analise a figura abaixo.
+
Assinale a opção que apresenta o gráfico da força cortante da viga com carregamento acima representada.
Provas
Leia o texto abaixo.
Nessa transformação, o gás não troca calor com o meio externo, seja porque ele está termicamente isolado, seja porque o processo ocorre suficientemente rápido, de forma que o calor trocado pode ser considerado desprezivel, ou seja, d!$ \mathcal{Q} !$ = 0,
O texto acima faz referência a que processo?
Provas
Sabendo-se que a relação entre a largura de um mancal radial e o diâmetro da árvore para um projeto é de b/d=0,75, dimensione a largura do mancal radial para um motor elétrico de rotação n=1740 rpm e carga F= 6000N, serviço contínuo a=1 e diâmetro da árvore 80mm e, a seguir, assinale a opção correta.
Provas
Um lustre que pesa 110N está preso ao teto por uma corrente de aço. Determine o diâmetro do arame da corrente, cujo material é o ABNT 1010L com !$ σ !$e = 220 MPa.para que suporte, com segurança (K=5), o peso do lustre.
Provas
Uma barra de seção retangular 5xl10cm, biapoiada, suporta uma carga distribuída de 100 kg/m e uma carga axiai de tração de 20t. O vão (distância entre os apoios) é 1,5m. Calcule a tensão máxima de cisalhamento que atua na peça e, a seguir, assinale a opção correta.
Provas
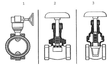
Observe as figuras abaixo.

Quais são os tipos de válvulas representados pelas figuras 1, 2 e 3, respectivamente.
Provas
Em uma chapa de aço AISI C 1045, de 3/16pol de espessura, devem ser abertos vários furos de 3/4pol de diâmetro. Assinale a opção que corresponde à quantidade de furos que podem ser feitos de uma só vez, utilizando uma prensa que desenvolve uma força de 50.000kg.
Provas
Uma mola de 17 espiras ativas e 19 espiras no total possui dm=7Smmn e da=8mm. Qual o índice de curvatura (c) e o Fator de Wahl (kw) desta mola?
Provas
Observe a figura a seguir.

A figura acima representa um elevador de carga utilizado na construção civil. A carga máxima de transporte prevista é de P=12kN. Qual a carga que atua nesse cabo quando o elevador transporta a carga máxima?
Provas
Calcule o torque no eixo de entrada de um motor elétrico, de engrenagens cilíndricas e dentes helicoidais, com potência p= 7,5kW (~10cv) e rotação n= 1500rpm e, a seguir, assinale a opção correta.
Provas
Caderno Container