Foram encontradas 100 questões.
Uma barra de latão com 10 mm de diâmetro foi estirada a frio através de uma matriz com 8 mm de diâmetro. O percentual de trabalho a frio dessa operação é igual a
Provas
A probabilidade de não se obter no ensaio de tração a observação do escoamento nítido é grande. Uma técnica adotada para a obtenção do valor do limite de escoamento é mostrada na figura abaixo, onde uma reta vertical é traçada a partir de uma deformação !$ epsilon !$.

Para materiais como cobre e suas ligas, o valor a ser adotado para a deformação é igual a
Provas
Em relação à seleção de materiais não ferrosos para projetos de vasos de pressão, analise as afirmativas a seguir.
I – O níquel e suas ligas são adotados para equipamentos de grande porte os quais trabalham com fluidos em altas temperaturas.
II – O alumínio e suas ligas não podem ser utilizados em projetos que determinam a não contaminação do fluido contido.
III – Para serviços em ambientes corrosivos, os materiais compósitos de resina plástica, com elemento de reforço sendo geralmente de fibra de vidro, são uma alternativa às ligas de níquel.
Está correto o que se afirma em
Provas
Considere uma lâmina de material compósito cujo reforço em fibras é disposto, unidirecionalmente, com os seguintes valores para a fração de volume e o módulo de elasticidade de cada fase:

A partir da regra das misturas, o módulo de elasticidade da lâmina na direção paralela e na direção perpendicular ao reforço é estimado com valores iguais, em GPa, respectivamente, a
Provas
Em relação aos tratamentos térmicos, analise as afirmativas a seguir.
I – O tratamento térmico de esferoidização (também conhecido como coalescimento) é adotado quando se deseja aumentar a ductilidade de aços com elevados teores de carbono.
II – A velocidade crítica de resfriamento em um tratamento térmico de têmpera é a menor velocidade de resfriamento capaz de transformar toda a austenita em martensita.
III – O recozimento é um tratamento térmico que consiste em aquecer o aço até a temperatura de austenitização e resfriá-lo, lentamente, dotando o aço com maior dureza.
É correto o que se afirma em
Provas
Analise as três amostras de ferro fundido, reproduzidas abaixo, que foram obtidas por micrografia.

Considerando o ferro fundido branco, o cinzento e o nodular, nesta ordem, a sequência que corresponde às amostras, é, respectivamente,
Provas
Qual tratamento térmico se aplica no aço, após a têmpera, para recuperação de parcela da ductilidade e da tenacidade?
Provas
Ao consultar a classificação dos aços inoxidáveis, um técnico de inspeção de equipamentos NÃO encontrou a categoria de aço inoxidável
Provas
Analise as três amostras de aço carbono reproduzidas abaixo, que foram obtidas por micrografia.

Considerando os aços eutetoide, hipoeutetoide e hipereutetoide, apresentados nesta ordem, a sequência que corresponde às amostras é, respectivamente,
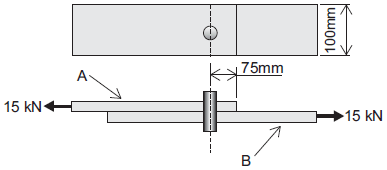
Provas
Duas chapas de espessura igual a 20 mm são unidas por um pino de diâmetro igual a 25 mm, sendo as demais informações descritas na figura abaixo.

O valor da maior tensão normal aplicada nas chapas, em MPa, é igual a
Provas
Caderno Container