Foram encontradas 20 questões.
Disciplina: Desenho Técnico e Industrial
Banca: Unesc
Orgão: Pref. Laguna-SC
A legenda deve ser elaborada na forma de um quadro subdividido em campos de dados, contendo informações, indicações e identificações relevantes associadas ao desenho. Quanto ao seu tamanho e posicionamento na folha, assinale a alternativa CORRETA:
Provas
Disciplina: Desenho Técnico e Industrial
Banca: Unesc
Orgão: Pref. Laguna-SC
Considerando as características básicas para escrita em desenho, a escrita deve ter as seguintes características básicas, EXCETO:
Provas
Analisando o diagrama lógico dado abaixo, podemos afirmar que o conjunto que representa o elemento X , que faz parte da operação lógica (A ^ B) é o:

Provas
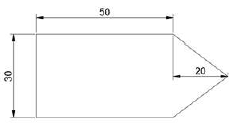
Assinale a alternativa que corresponde a área do objeto abaixo, considerando as dimensões do desenho em metros (m):

Provas
Assinale a alternativa em que a palavra destacada é um Pronome Relativo:
Provas
Saber alguns conceitos e definições é necessário para a correta elaboração de um projeto arquitetônico. Assinale a alternativa que representa a correta definição do termo CORTE:
Provas
Se Leila costuma visitar sua mãe às segundas, quartas, quintas e sextas e Paulo, seu irmão, às segundas, terças, quintas e sábados, qual é a probabilidade de Paulo chegar na casa da mãe e encontrar com Leila?
Provas
Ao analisar suas finanças, Marília descobriu que na primeira quinzena de suas férias já havia gastado 60% do que reservou para o mês inteiro.Se ainda restavam R$ 1.000,00, quanto ela havia reservado?
Provas
Disciplina: Legislação Estadual e Distrital
Banca: Unesc
Orgão: Pref. Laguna-SC
O Decreto nº 4.132/2014 normatiza a avaliação de desempenho profissional dos servidores admitidos em caráter temporário no âmbito da Prefeitura Municipal de Laguna. Nos termos do art. 5º do referido Decreto, compete à Coordenação Geral:
Assinale a alternativa CORRETA:
Provas
Em todas as alternativas, a palavra destacada foi corretamente substituída pelo pronome de tratamento correspondente, EXCETO em:
Provas
Caderno Container