Foram encontradas 60 questões.
Um parafuso de potência, de rosca quadrada, tem o diâmetro maior (dM ) igual a 36,0 mm, possui dupla entrada e um avanço em uma volta completa é de 1 = 12,0 mm. Nestas condições, o diâmetro médio ou primitivo e o passo do parafuso, em milímetros, são, respectivamente, iguais a:
Provas
Responda à questão de número 45 após observar a figura abaixo, que representa uma estrutura em que foi executada uma operação de soldagem.

O símbolo de soldagem, padronizado pela AWS - American Welding Society, que representa o tipo de solda usada na figura é:
Provas
Experimentos mostram que dois grupos de rolamentos idênticos, testados sob diferentes forças, F1 e F2, têm respectivamente vidas L1 e L2, de acordo com a relação (L1 / L2) = (F2 / F1)a, onde:
L = vida do rolamento em milhões de rotações ou horas a uma determinada velocidade de rotação;
a = 3, para rolamentos de esferas ou a = 10/3, para rolamentos de rolos.
A Companhia XYZ, fabricante de rolamentos, apresenta um catálogo no qual são fornecidas as cargas radiais resistentes (FR), calculadas para uma vida de 1200 horas quando submetidos à rotação de 600 rpm. Um rolamento de esferas sob uma carga de projeto (FD) igual a 4,0 kN, submetido a uma rotação de 960 rpm, e cuja vida deverá ser de 6000 horas, terá um valor de carga radial resistente (FR), em kN, selecionado no catálogo da Companhia XYZ igual a:
Provas
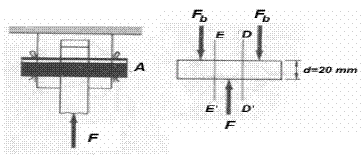
Responda à questão de número 43 após a análise da figura abaixo, que representa uma seção de uma barra conectada a uma base através de um rebite.

Sabendo que o diâmetro do rebite é de 20 mm e a tensão de cisalhamento média, em MPa, no rebite é de 160 / p, a máxima força F , em kN, que pode ser aplicada na barra é de:
Provas
Uma mola helicoidal é feita de um material cuja tensão de escoamento torsional (Sse) vale 980 MPa. O diâmetro (d) do arame vale 1,0 mm e o valor da força estática (F) que produzirá escoamento é igual a 33,6 N. O diâmetro externo mínimo da mola (D ), em milimetros, é, aproximadamente, igual a:

Provas
Um vaso de pressão cilíndrico, com paredes de 12 mm de espessura e raio interno de 2,0 m suporta uma pressão interna de 960 kPa. A parede é soldada por um cordão de solda, fazendo um ângulo de hélice b = 30°, com um plano transversal ao cilindro. Nestas condições, a tensão normal perpendicular ao cordão de solda (ssolda) e a tensão de cisalhamento paralela ao cordão de solda (tsolda), em MPa, são, respectivamente, aproximadamente, de:
Provas

Se a tensão principal máxima, sI, vale 80 MPa, então a tensão principal mínima, sII, e a máxima tensão cisalhante, em MPa, são, respectivamente, iguais a:
Provas
Em um teste de tração, realizado com corpos de prova idênticos de materiais distintos, nas mesmas condições de execução, a tensão correspondente ao limite de elasticidade do material A apresentou um valor igual a três vezes o da tensão correspondente ao limite de elasticidade do material B , conforme a figura abaixo. Em tais condições, pode-se afirmar que:

Provas
A tensão tangencial máxima que age em um eixo circular vazado, com raio interno r1 e raio externo r2, vale tmáx. O máximo momento de torção T aplicado é de:

Provas

Sabendo-se que a tensão de ruptura é sR, o coeficiente de segurança contra ruptura do material vale n, e o diâmetro da barra é f, a força axial máxima Fmáx que pode ser aplicada é:
Provas
Caderno Container