Foram encontradas 50 questões.
Provas
O conjunto cilindro-pistão mostrado na figura abaixo contém ar (admita como gás perfeito) a 200 kPa e 600 K. O ar é expandido num processo a pressão constante até que o volume se torne igual ao dobro do inicial (estado 2).

Nesse ponto, o pistão é travado com um pino. A temperatura do ar no estado 2 é
Provas
A figura abaixo mostra as engrenagens de um redutor. A potência no eixo de entrada, que gira a 1350 rpm, é de 3 kW.

Sabendo-se que o rendimento desta transmissão é de 90%, o torque no eixo de saída é
Provas
A bomba deve transferir 36π m3/h de água do tanque A para o tanque B. Considere que os tanques são muito grandes, que a bomba tem rendimento de 65%, que toda a tubulação tem diâmetro interno igual a 50 mm, que a perda de carga entre o nível do tanque A e a seção de entrada da bomba é igual a 2,25 m e que a perda de carga entre a seção de saída da bomba e a seção de descarga da tubulação é igual a 14 m.

A velocidade da água na seção de descarga da bomba é
Provas
Considere o arranjo mostrado na figura abaixo. No recipiente rígido A com volume igual a 0,0120 m3, tem-se inicialmente água a 300 °C (Vlíq = 0,0020 m3/kg; Vvapor = 0,0200m3/kg) e título igual a 0,5. A válvula é aberta e vapor d´água escoa vagarosamente para o recipiente B que está inicialmente vazio. Nesta situação, a pressão necessária para movimentar o êmbolo é igual a 200 kPa.

A massa inicial em A é
Provas
Provas
Provas
- Materiais de Construção MecânicaPropriedades e Comportamentos dos Materiais
- Mecânica dos SólidosElasticidade Linear, Plasticidade, Fratura, Fadiga e Flambagem
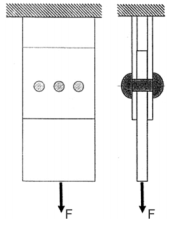
A junta da figura é composta por 3 chapas e 3 rebites e está sujeita a uma força F, como indicado. A tensão admissível ao
cisalhamento do material dos rebites é
. A expressão para determinar o diâmetro mínimo dos rebites, para que não ocorra o
cisalhamento dos mesmos, é:

Provas
Provas
- Gerenciamento, Planejamento e Controle de Obras
- Orçamento no Planejamento e Controle de Obras na Engenharia Civil
Analise as afirmações abaixo sobre gerenciamento de obras.
I. O planejamento consiste na organização para execução da obra, incluindo o orçamento e a programação para execução.
II. O projeto legal deve conter os elementos necessários à aprovação pelos órgãos públicos.
III. O Custo Unitário Básico − CUB é um indicador do custo de construção, calculado mensalmente pelos Sindicatos da Indústria da Construção Civil do Brasil, sendo utilizado para estimativa inicial e para o reajuste de valores monetários.
Está correto o se afirma em
Provas
Caderno Container