Foram encontradas 120 questões.
Julgue os próximos itens, relativos a fundamentos da dinâmica.
Entre as figuras a seguir, a figura B mostra a direção correta do vetor velocidade VA no ponto A de um disco que gira no sentido anti-horário, com velocidade angular ω, ao mesmo tempo em que rola da direita para a esquerda sem deslizamento.

Provas
Julgue os próximos itens, relativos a fundamentos da dinâmica.
A análise das forças que atuam sobre um elo de um mecanismo em movimento pode ser feita de modo análogo à de um problema estático pela aplicação do princípio de D’Alembert.
Provas
Julgue os próximos itens, relativos a fundamentos da dinâmica.
A compressão provocada em uma mola de constante k por uma esfera de massa M que se desloca sobre uma superfície plana sem fricção, com velocidade inicial V, até que V = 0, equivale a \( x=\sqrt{\dfrac{M}{k}V}. \)
Provas
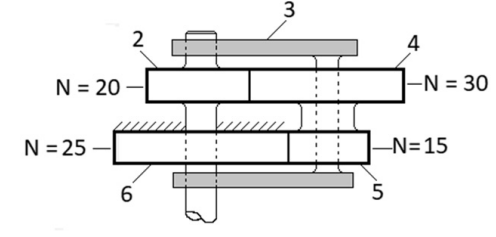
Julgue os próximos itens, relativos a fundamentos da dinâmica.
Considere que a figura a seguir ilustre a configuração de um trem de engrenagens planetárias, no qual: a engrenagem 2 seja chavetada ao seu eixo e gire a 240 rpm no sentido horário; as engrenagens 4 e 5 sejam engrenagens planetas conectadas coaxialmente, mas livres para girar em torno do eixo que liga o braço 3; e a engrenagem 6 seja estacionária. Nessa situação, o braço 3 girará no sentido horário a uma velocidade inferior a 100 rpm.

Provas

Considerando a figura precedente, que representa os envelopes de falha no espaço das tensões principais, segundo os critérios de Tresca e de von Mises, comumente usados para prever falhas de materiais dúcteis, comparando-se o estado de tensão aplicado com a resistência ao escoamento do material, julgue os itens subsequentes.
Segundo a teoria de Tresca, a resistência ao escoamento por cisalhamento é 50% do valor da resistência ao escoamento sob tensão normal, gerando-se o envelope de falha hexagonal no qual os pontos no seu interior são considerados seguros.
Provas

Considerando a figura precedente, que representa os envelopes de falha no espaço das tensões principais, segundo os critérios de Tresca e de von Mises, comumente usados para prever falhas de materiais dúcteis, comparando-se o estado de tensão aplicado com a resistência ao escoamento do material, julgue os itens subsequentes.
A teoria de von Mises, ou teoria da máxima energia de distorção, prevê a ocorrência de escoamento quando a distorção causada pelos componentes hidrostáticos da energia de deformação for zero.
Provas

A partir da figura precedente, que ilustra uma barra de seção circular engastada submetida a cargas de flexão F, de compressão P e de torção T, julgue os itens seguintes.
Se, no ponto A, o valor da tensão normal σxP produzida pela carga P for igual ao valor da tensão normal σxF produzida pela carga F, as tensões principais no ponto A serão nulas.
Provas

A partir da figura precedente, que ilustra uma barra de seção circular engastada submetida a cargas de flexão F, de compressão P e de torção T, julgue os itens seguintes.
A tensão cisalhante que atua em B é inferior à tensão cisalhante atuante em A.
Provas

A partir da figura precedente, que ilustra uma barra de seção circular engastada submetida a cargas de flexão F, de compressão P e de torção T, julgue os itens seguintes.
O elemento de tensão na figura a seguir mostra as tensões atuantes no ponto C, que equivalem a \( \sigma_x=-\dfrac{4P}{\pi D^2}-\dfrac{32FL}{\pi D^3} \) e \( \tau_{xz}=\dfrac{16T}{\pi D^3}. \)

Provas
Em relação à resistência dos materiais, julgue os itens que se seguem.
Na viga esquematizada na figura a seguir, o esforço cortante máximo ocorre no trecho AB e é inferior a 20 kN.

Provas
Caderno Container