Foram encontradas 70 questões.
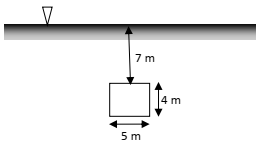
A figura mostra a comporta plana pertencente a um paramento vertical de uma barragem. Essa comporta é retangular de 5 x 4 m e se encontra a uma profundidade de 7 m.

Sabendo que o peso específico da água é de 9,8 x 103 N/m3 , o valor da força exercida pela água sobre a comporta é:
Provas
- Hidráulica e HidrologiaHidráulica na Engenharia Civil
- Projeto e Execução de Rodovias e FerroviasDrenagem
- Saneamento Geral
- Meio Ambiente na Engenharia Civil
As precipitações são classificadas segundo o mecanismo de ascensão do ar úmido em alguns tipos. Observe a figura:

Esses tipos de precipitação são típicas das regiões tropicais. O aquecimento desigual da superfície terrestre provoca o aparecimento de camadas de ar com densidades diferentes, o que gera uma estratificação térmica da atmosfera em equilíbrio instável, que, uma vez quebrado (vento, superaquecimento), provoca uma ascensão brusca do ar menos denso, gerando chuvas de grande intensidade e curta duração, concentradas em pequenas áreas.
Esse tipo de precipitação é conhecido como:
Provas
A transposição de um rio foi realizada por meio de um canal retangular aberto com largura de 6 m e vazão constante. Observe a curva de variação da energia específica em função da profundidade, traçada para as diversas configurações apresentadas pelo canal.

Na seção com profundidade de 0,70 m o canal apresenta declividade:
Provas
O esquema apresenta o sistema de esgotamento sanitário de uma cidade fictícia. As linhas contínuas mostram as tubulações (as setas indicam a direção do escoamento) e os círculos denotam os poços de visita. As áreas de expansão, que futuramente serão ocupadas com as mesmas características da cidade, aparecem indicadas por setas tracejadas.

Nessa cidade, a densidade populacional é de 120 hab/ha, o consumo per capita de água é de 200 litros / (hab.dia), o coeficiente de retorno é de 0,8, a taxa de infiltração TI é de 0,001 litros/(s.m), o coeficiente do dia de maior consumo K1 é de 1,2, o coeficiente da hora de maior consumo K2 é de 1,5, e a densidade de tubos nas áreas existente e de expansão é de 100 m/ha.
A vazão futura Q da rede coletora de esgotos que sai, após a expansão, do poço de visita mais a jusante é:
Provas
A figura apresenta a classificação textural de solos do Departamento de Agricultura dos Estados Unidos (USDA).

Segundo esse gráfico, um solo com 15% de pedregulho, 32% de areia, 23% de argila e 30% de silte é classificado como:
Provas
As rupturas de talude são classificadas em cinco categorias principais: queda, escorregamento, tombamento, espalhamento (expansão lateral) e escoamento.
A figura mostra uma dessas categorias, na qual ocorre um movimento descendente através de uma superfície de ruptura.

A categoria de ruptura de talude descrita e ilustrada é:
Provas
A figura mostra um esquema do aparelho para ensaio de permeabilidade com carga constante.

No ensaio de permeabilidade durante 15 minutos foram coletados 350 cm3 de água.
Sabendo-se que a área da amostra é de 150 cm2 , que L é 25 cm e que h é igual a 40 cm, o valor da condutividade hidráulica é:
Provas
Observe o sistema de abastecimento de uma cidade que tem como demanda média de água 1.220 m3 /dia.

Sabendo-se que o coeficiente do dia de maior consumo K1 é 1,2, que o coeficiente da hora de maior consumo K2 é 1,4, e que o consumo da ETA é de 5%, a vazão de dimensionamento da adutora III é:
Provas
A figura abaixo mostra a curva de variação do consumo de água de um município, no dia de maior consumo.

De acordo com essa curva, o coeficiente da hora de maior consumo desse município é:
Provas
- Engenharia de Tráfego
- Geotecnia
- Projeto e Execução de Rodovias e FerroviasTerraplenagem
- SolosMecânica dos Solos
Um aterro geralmente causa aumento na tensão média da massa do solo abaixo dele. Observe o aterro acima do solo cujo limite é definido pela caixa tracejada:

O aumento de tensão vertical resultante do carregamento de um aterro é função da carga unitária q e de um coeficiente de influência I dado pelo gráfico de Osterberg:

No gráfico, z é a profundidade do ponto no terreno sem aterro e Bi são larguras de trechos uniformes do aterro.
Sabendo-se que o peso específico do aterro é de 18 kN/m3 , o aumento de tensão no ponto A é:
Provas
Caderno Container