Foram encontradas 50 questões.
A representação de materiais na NBR 6492 tem as seguintes convenções abaixo. Marque a opção correta a quais materiais se referem.

Provas
Questão presente nas seguintes provas
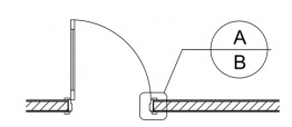
Na marcação de detalhamento abaixo, segundo a NBR 6492, os campos A e B referem-se respectivamente a(o):

Provas
Questão presente nas seguintes provas
Anteriormente regulamentado de forma ainda simplificada pela NBR9050 de 2004, a elaboração de
projetos de piso tátil passou a ser norteada por uma nova norma a partir de 2016. Trata-se da
NBR16537/2016 “Acessibilidade — Sinalização tátil no piso — Diretrizes para elaboração de projetos e
instalação”. De acordo com esta norma, podemos afirmar que:
Provas
Questão presente nas seguintes provas
A impermeabilização constitui um conjunto de operações e técnicas construtivas (serviços), composto
por uma ou mais camadas, que tem por finalidade proteger as construções contra a ação deletéria de
fluidos, de vapores e da umidade. No âmbito da construção civil, a impermeabilização é um elemento
chave para determinar a manutenção e durabilidade das edificações. Quanto à impermeabilização,
podemos afirmar que:
Provas
Questão presente nas seguintes provas
- AcessibilidadeAcessibilidade e Desenho Universal
- AcessibilidadeCirculações Verticais e Horizontais
- AcessibilidadeDimensionamentos Mínimos
- AcessibilidadeEdificações
- AcessibilidadeEquipamentos e Mobiliários
Assinale abaixo o item que corresponde a uma recomendação de projeto que obedece aos parâmetros da
NBR9050/2015 para o caso de um projeto de uma Biblioteca Universitária.
Provas
Questão presente nas seguintes provas
- Desenho Técnico
- Expressão e Representação
- Legislação e NormasNormas sobre Processos de Projetos na Arquitetura
- Processos de ProjetoEtapas do Processo
Segundo o Conselho de Arquitetura e Urbanismo do Brasil (CAU/BR), as Normas técnicas estabelecem
parâmetros de qualidade, segurança e normalidade que todos os arquitetos e urbanistas devem conhecer.
Entre tantas o (CAU/BR) destaca cinco normas fundamentais ao exercício de arquitetura, a saber: NBR
16.280:2015 - Reforma em Edificações; NBR 9050:2015 – Acessibilidade; NBR 15575:2013 –
Edificações habitacionais – Desempenho; NBR 13532:1995 – Elaboração de projetos de edificações –
Arquitetura; e NBR 6492:1994 – Representação de projetos de Arquitetura. Esta última fixa as condições
exigíveis para representação gráfica de projetos de arquitetura, visando à sua boa compreensão. Para
tanto, define simbologias e elementos gráficos próprios da linguagem gráfica bem como especifica as
etapas de projeto e seus conteúdos. A etapa de Anteprojeto apresenta a definição do partido arquitetônico e
dos elementos construtivos, considerando os projetos complementares. Nessa etapa, segundo a NBR 6492,
são documentos típicos:
Provas
Questão presente nas seguintes provas
- AcessibilidadeAcessibilidade e Desenho Universal
- AcessibilidadeDimensionamentos Mínimos
- AcessibilidadeEdificações
As portas constituem elementos arquitetônicos de fundamental importância numa edificação, pois suas
características dimensionais podem determinar o acesso ou impedimento de pessoas, principalmente de
pessoas em cadeiras de rodas, com muletas, pessoas obesas, etc. Acerca desses elementos, de acordo
com a NBR9050/2015, podemos afirmar que:
Provas
Questão presente nas seguintes provas
- AcessibilidadeAcessibilidade e Desenho Universal
- AcessibilidadeCirculações Verticais e Horizontais
- ProjetosCirculação Vertical
A ABNT NBR NM 313, “Elevadores de passageiros - Requisitos de segurança para construção e
instalação - Requisitos particulares para a acessibilidade das pessoas, incluindo pessoas com
deficiência” estabelece as dimensões mínimas para cabinas de elevadores de países do Mercosul. No
caso do Brasil, as dimensões mínimas de cabina, de acordo com a NBR NM 313 são:
Provas
Questão presente nas seguintes provas
O sistema drywall constitui uma possibilidade de construção limpa e a seco, ou seja, utilizando
quantidades mínimas de água. Uma das principais vantagens do uso deste sistema é a maior otimização
no tempo de execução da obra devido às particularidades do seu processo de montagem. Assinale a
alternativa correta quanto ao uso do drywall.
Provas
Questão presente nas seguintes provas
A Modelagem da Informação na Construção (BIM) se apóia nos conceitos de parametrização,
interoperabilidade e na colaboração entre os diversos profissionais da AECO. Objetos paramétricos são
próprios ao modo de representação desses aplicativos. O Archicad possui uma linguagem interna de
programação, o GDL, para criação otimizada de objetos paramétricos. Um prisma regular, rotacionado 45º sobre o eixo Z, cujo o comprimento é duas vezes a largura e a altura é uma vez e meia o comprimento, a
ser instanciado no ambiente de trabalho, assinale a forma adequada de expressar esse objeto em GDL:
Provas
Questão presente nas seguintes provas
Cadernos
Caderno Container