Foram encontradas 60 questões.
As instalações hidráulicas de uma residência devem atender aos seguintes critérios:
1) as canalizações devem estar sempre expostas para facilitar as manutenções.
2) os registros de pressão servem para acionar os chuveiros.
3) os registros de gaveta servem para fechar determinados trechos a fim de facilitar as manutenções.
4) o sistema de recalque interliga a bomba elétrica ao reservatório superior.
2) os registros de pressão servem para acionar os chuveiros.
3) os registros de gaveta servem para fechar determinados trechos a fim de facilitar as manutenções.
4) o sistema de recalque interliga a bomba elétrica ao reservatório superior.
Está(ão) correta(s):
Provas
Questão presente nas seguintes provas
O projeto de uma estrutura de alvenaria deve ser elaborado, adotando-se:
Provas
Questão presente nas seguintes provas
Diante de um acidente que acarrete queimaduras e em que haja envolvimento com agente químico, os primeiros socorros devem proceder da seguinte maneira:
Provas
Questão presente nas seguintes provas
O projeto de instalações elétricas é a previsão escrita da instalação, com todos os seus detalhes, localização dos pontos de utilização de energia elétrica, trajeto dos condutores, carga de cada circuito, carga total etc. Correlacione os elementos do projeto com os seus requisitos, numerando a segunda coluna de acordo com a primeira.
1) Memória
2) Conjuntos de plantas, esquemas e detalhes
3) Especificações
4) Orçamento
( ) Descreve-se o material a ser usado e as normas para a sua aplicação.
( ) Apresenta-se a Justificativa e a descrição da solução.
( ) Deverão conter todos os elementos necessários à perfeita execução do projeto.
( ) São levantados a quantidade e o custo do material e da mão de obra.
A sequência correta, de cima para baixo, é:
Provas
Questão presente nas seguintes provas
O gráfico a seguir ilustra o resultado de uma pesquisa sobre o nível de colesterol, em mg/dl, de um grupo de 300 pessoas. Na horizontal, estão marcados os níveis de colesterol, e, na vertical correspondente, o número de pessoas com aquele nível de colesterol. Os dados também figuram na tabela a seguir.

| Nível de colesterol (em mg/dl) | Nº de pessoas |
| 205 | 40 |
| 210 | 80 |
| 215 | 60 |
| 220 | 120 |
Admitindo as informações acima, assinale a alternativa incorreta.
Provas
Questão presente nas seguintes provas
2243723
Ano: 2015
Disciplina: Segurança e Saúde no Trabalho (SST)
Banca: COVEST-COPSET
Orgão: UFPE
Disciplina: Segurança e Saúde no Trabalho (SST)
Banca: COVEST-COPSET
Orgão: UFPE
Provas:
Cabe ao trabalhador, quanto ao Equipamento de Proteção Individual:
1) utilizá-lo apenas para a finalidade a que se destina.
2) responsabilizar-se pela guarda e conservação.
3) comunicar ao empregador qualquer alteração que o torne impróprio para uso.
4) determinar o uso adequado do equipamento.
2) responsabilizar-se pela guarda e conservação.
3) comunicar ao empregador qualquer alteração que o torne impróprio para uso.
4) determinar o uso adequado do equipamento.
Está(ão) correta(s):
Provas
Questão presente nas seguintes provas
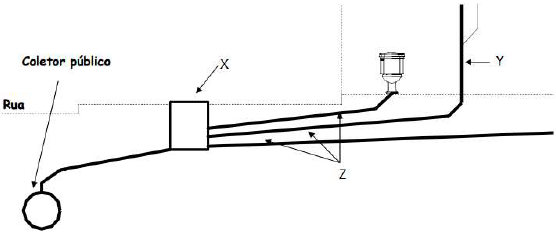
Sobre componentes do sistema predial de esgotos sanitários, analise a figura abaixo e marque a alternativa que corresponde aos componentes X, Y e Z respectivamente:

Provas
Questão presente nas seguintes provas
Referente à proporcionalidade das argamassas de revestimento, assinale a alternativa correta.
Provas
Questão presente nas seguintes provas
A caixa destinada a receber efluentes da instalação secundária de esgoto é denominada:
Provas
Questão presente nas seguintes provas
Acerca de vergas e contra-vergas, analise as proposições seguintes.
1) Sobre vão de portas e janelas devem ser moldadas ou colocadas vergas.
2) Sob o vão da janela ou caixilhos diversos devem ser moldados ou colocados contra-vergas.
3) As vergas e contra-vergas devem exceder a largura do vão, pelo menos 20 cm de cada lado e devem ter altura mínima de 10 cm.
4) Quando os vãos forem relativamente próximos e na mesma altura, recomenda-se uma única verga para todos.
2) Sob o vão da janela ou caixilhos diversos devem ser moldados ou colocados contra-vergas.
3) As vergas e contra-vergas devem exceder a largura do vão, pelo menos 20 cm de cada lado e devem ter altura mínima de 10 cm.
4) Quando os vãos forem relativamente próximos e na mesma altura, recomenda-se uma única verga para todos.
Está(ão) correta(s):
Provas
Questão presente nas seguintes provas
Cadernos
Caderno Container