Foram encontradas 60 questões.
Deseja-se interligar as localidades A e B através de um enlace de micro ondas em visibilidade. Através de um mapa com R = 4/3 R (terra.) e com as curvas de nível do terreno, traçou-se o perfil topográfico e a linha de visada entre as antenas de A e B, com auxílio das interseções das curvas de nível das elevações, com o plano vertical que contém a linha de visada entre A e B. O enlace ocorrerá em uma frequência de 3,0 GHz. Entre a antena A e a antena B existe um obstáculo, obs, afastado 18,0 km de A e 18,0 km de B.

O eixo menor da Primeira Elipsóide de Fresnel no ponto do obstáculo obs é:
Provas
Questão presente nas seguintes provas
TEXTO 2
A ALMA DO CONSUMO
Todos os dias, em algum nível, o consumo atinge nossa vida, modifica nossas relações, gera e rege sentimentos, engendra fantasias, aciona comportamentos, faz sofrer, faz gozar. Às vezes constrangendo- nos em nossas ações no mundo, humilhando e aprisionando, às vezes ampliando nossa imaginação e nossa capacidade de desejar, consumimos e somos consumidos.
O consumo não pertence a todas as épocas nem a todas as civilizações. Somente há pouco tempo histórico é que falamos e entendemos viver numa sociedade de consumo, onde tudo parece adaptar-se à lógica dessa racionalidade, ou seja, à esfera do lucro e do ganho, à ética e à estética das trocas pagas. É uma singularidade histórica. Tornamo-nos Homo consumericus.
Para uma psicologia arquetípica, há deuses em nosso consumo: Afrodite da sedução e do encantamento pela beleza e pelo prazer, Hermes do comércio e da troca intensa, Cronos do devoramento, Plutão da riqueza e da abundância, Criança Divina da novidade, Dioniso do arrebatamento, Narciso ensimesmado, Herói furioso, Eros apaixonado, Pan, Príapo, Puer, quem mais? Que pessoas arquetípicas estão na alma do consumo?
Ao buscarmos pela alma do consumo, lançamo-nos, sempre mais desconfortavelmente, no jogo entre necessidade e supérfluo, entre frívolo e essencial. Não sabemos ao certo onde termina a necessidade, onde começa o supérfluo, onde estão as fronteiras entre consumo de necessidade e consumo de gosto, consumo consciente e consumo de compulsão.
A era hipermoderna se dá sob o signo do excesso e do extremo, que realiza uma “pulsão neofílica”, um prazer pela novidade que se volta constantemente para o presente. O consumo acontece ao lado de outros fenômenos importantes que marcam e que estão no centro do novo tempo histórico: o espetáculo midiático, a comunicação de massa, a individualização extremada, o hipermercado globalizado, a poderosíssima revolução informática, a internet. O consumo cria seus próprios templos: os shoppingcenters, as novas catedrais das novas e velhas igrejas, e também, a seu modo, a própria rede mundial de computadores.
Consumo: tantos são seus deuses que é preciso evocá-los com cuidado, sem voracidade, para sentirmos sua interioridade, sua alma, sem sermos pegos em sua malha fina.
Consumo de utensílios domésticos, eletrodomésticos, eletroeletrônicos que liquidificam, batem, moem, trituram, misturam, assam, limpam, fervem, fritam, amassam, amolecem, passam e enceram para nós – sem nossas mãos, sem contato manual. Tocam sons, reproduzem imagens, processam informações. Excesso e profusão de automatismos também funcionando para a era da autonomia.
Organizo e escolho as músicas que quero ouvir – a trilha sonora da minha vida – sem surpresas desagradáveis ou diferentes, simplesmente baixando arquivos de áudio da internet e armazenando-os em meu iPod. A telefonia está em minhas mãos, em qualquer lugar, é móvel, e com ela a impressão de contato por trás da fantasia de conectividade. A comunicação está toda em minhas mãos. Minha correspondência, agora por via eletrônica, está em minhas mãos (ou diante de meus olhos) na hora que desejo ou preciso, em qualquer lugar do planeta. E está em minhas mãos principalmente tudo aquilo que posso comprar pronto (ready-to-go): desde a comida – entregue em casa (delivery), ou então ao acesso rápido de uma corrida de carro (drive-through) – até medicamentos, entretenimento, companhia, sexo e roupas prêt-à-porter.
Percebemos a enorme presença da fantasia de autonomia. E esta autonomia está a serviço da felicidade privada.
O nosso tempo é um tempo de escolhas. A “customização” cada vez mais intensa da maioria dos bens e dos serviços de consumo permite que eu diga como quero meu refrigerante, meu carro, meu jeans, meu computador.
A superindividualização também leva à autonomia, ou vice-versa, e impõe processos de escolha cada vez mais intensos e urgentes: “Os gostos não cessam de individualizar-se”.
O senhor dos Portões (Mr. Gates) abriu as janelas (Windows) de um presente que requer, sim, definições (escolhas) cada vez mais “altas”, mais precisas, mais particularizadas, em quase tudo.
A própria identidade torna-se, no mundo hipermoderno, uma escolha que se dá num campo cada vez mais flexível e fluido de possibilidades: tribos, nações, culturas, subculturas, sexualidades, profissões, idades. Personas to-go. Autonomia: nomear-se a si mesmo.
A lógica consumista parece ser a de um hipernarcisismo. Se existem deuses nas nossas doenças, quem são eles no consumismo?
Comecemos pela necessidade: temos necessidade de quê? De quanto? Quando? Não sabemos mais ao certo, é claro. As medidas enlouqueceram. Movemo-nos agora num mar de necessidades: pseudonecessidades, necessidades artificiais, necessidades básicas, necessidades estrategicamente plantadas pelo marketing, necessidades que não sei se tenho, necessidades futuras, até chegar ao desnecessário, o extraordinário que é demais. A necessidade delira.
A compra é a magia do efêmero. É asa, é brasa. É futuro, promessa, desejo de mudar, intensificação, momento de morte. É o fim da produção, quando as coisas são finalmente absorvidas pela psique.
A compra, ao contrário do que se poderia pensar, dissolve o ego em alma, dissolve o ego heróico em sua fantasia de morte. Comprar é o que resta. Comprar é nosso modo de fazer o mundo virar alma.
BARCELLOS, Gustavo. Disponível em:
http://www.diplomatique.org.br/artigo.php?id=291 Acesso em: 04 dez. 2014. Texto adaptado.
Assinale a alternativa em que todas as palavras são acentuadas com base na mesma regra.
Provas
Questão presente nas seguintes provas
Em um gerador de sinal estereofônico, para a transmissão dos sinais independentes de áudiona faixa de 100 Hz a 15 kHz em um canal do espectro de Frequência Modulada comercial, os canais esquerdo E e direito D são somados e subtraídos, obtendo-se os sinais E+D e E-D.
Após passar por circuitos de pré-ênfase, o sinal:
Provas
Questão presente nas seguintes provas
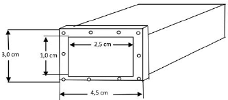
Os guias de onda metálicos de seção circular, elíptica ou retangular são usados para transmissão e recepção de sinais de RF de altas frequências nas faixas de micro-ondas. Um segmento de um guia retangular, com o seu respectivo flange de fixação, é mostrado a seguir.

A frequência de corte de um guia de onda é a frequência a partir da qual nenhum sinal de RF será transmitido pelo guia. Para o guia representado na figura, a frequência de corte será de:
Provas
Questão presente nas seguintes provas
Sobre a comunicação através de satélites GEO estacionários, assinale a alternativa correta.
Provas
Questão presente nas seguintes provas
TEXTO 2
A ALMA DO CONSUMO
Todos os dias, em algum nível, o consumo atinge nossa vida, modifica nossas relações, gera e rege sentimentos, engendra fantasias, aciona comportamentos, faz sofrer, faz gozar. Às vezes constrangendo- nos em nossas ações no mundo, humilhando e aprisionando, às vezes ampliando nossa imaginação e nossa capacidade de desejar, consumimos e somos consumidos.
O consumo não pertence a todas as épocas nem a todas as civilizações. Somente há pouco tempo histórico é que falamos e entendemos viver numa sociedade de consumo, onde tudo parece adaptar-se à lógica dessa racionalidade, ou seja, à esfera do lucro e do ganho, à ética e à estética das trocas pagas. É uma singularidade histórica. Tornamo-nos Homo consumericus.
Para uma psicologia arquetípica, há deuses em nosso consumo: Afrodite da sedução e do encantamento pela beleza e pelo prazer, Hermes do comércio e da troca intensa, Cronos do devoramento, Plutão da riqueza e da abundância, Criança Divina da novidade, Dioniso do arrebatamento, Narciso ensimesmado, Herói furioso, Eros apaixonado, Pan, Príapo, Puer, quem mais? Que pessoas arquetípicas estão na alma do consumo?
Ao buscarmos pela alma do consumo, lançamo-nos, sempre mais desconfortavelmente, no jogo entre necessidade e supérfluo, entre frívolo e essencial. Não sabemos ao certo onde termina a necessidade, onde começa o supérfluo, onde estão as fronteiras entre consumo de necessidade e consumo de gosto, consumo consciente e consumo de compulsão.
A era hipermoderna se dá sob o signo do excesso e do extremo, que realiza uma “pulsão neofílica”, um prazer pela novidade que se volta constantemente para o presente. O consumo acontece ao lado de outros fenômenos importantes que marcam e que estão no centro do novo tempo histórico: o espetáculo midiático, a comunicação de massa, a individualização extremada, o hipermercado globalizado, a poderosíssima revolução informática, a internet. O consumo cria seus próprios templos: os shoppingcenters, as novas catedrais das novas e velhas igrejas, e também, a seu modo, a própria rede mundial de computadores.
Consumo: tantos são seus deuses que é preciso evocá-los com cuidado, sem voracidade, para sentirmos sua interioridade, sua alma, sem sermos pegos em sua malha fina.
Consumo de utensílios domésticos, eletrodomésticos, eletroeletrônicos que liquidificam, batem, moem, trituram, misturam, assam, limpam, fervem, fritam, amassam, amolecem, passam e enceram para nós – sem nossas mãos, sem contato manual. Tocam sons, reproduzem imagens, processam informações. Excesso e profusão de automatismos também funcionando para a era da autonomia.
Organizo e escolho as músicas que quero ouvir – a trilha sonora da minha vida – sem surpresas desagradáveis ou diferentes, simplesmente baixando arquivos de áudio da internet e armazenando-os em meu iPod. A telefonia está em minhas mãos, em qualquer lugar, é móvel, e com ela a impressão de contato por trás da fantasia de conectividade. A comunicação está toda em minhas mãos. Minha correspondência, agora por via eletrônica, está em minhas mãos (ou diante de meus olhos) na hora que desejo ou preciso, em qualquer lugar do planeta. E está em minhas mãos principalmente tudo aquilo que posso comprar pronto (ready-to-go): desde a comida – entregue em casa (delivery), ou então ao acesso rápido de uma corrida de carro (drive-through) – até medicamentos, entretenimento, companhia, sexo e roupas prêt-à-porter.
Percebemos a enorme presença da fantasia de autonomia. E esta autonomia está a serviço da felicidade privada.
O nosso tempo é um tempo de escolhas. A “customização” cada vez mais intensa da maioria dos bens e dos serviços de consumo permite que eu diga como quero meu refrigerante, meu carro, meu jeans, meu computador.
A superindividualização também leva à autonomia, ou vice-versa, e impõe processos de escolha cada vez mais intensos e urgentes: “Os gostos não cessam de individualizar-se”.
O senhor dos Portões (Mr. Gates) abriu as janelas (Windows) de um presente que requer, sim, definições (escolhas) cada vez mais “altas”, mais precisas, mais particularizadas, em quase tudo.
A própria identidade torna-se, no mundo hipermoderno, uma escolha que se dá num campo cada vez mais flexível e fluido de possibilidades: tribos, nações, culturas, subculturas, sexualidades, profissões, idades. Personas to-go. Autonomia: nomear-se a si mesmo.
A lógica consumista parece ser a de um hipernarcisismo. Se existem deuses nas nossas doenças, quem são eles no consumismo?
Comecemos pela necessidade: temos necessidade de quê? De quanto? Quando? Não sabemos mais ao certo, é claro. As medidas enlouqueceram. Movemo-nos agora num mar de necessidades: pseudonecessidades, necessidades artificiais, necessidades básicas, necessidades estrategicamente plantadas pelo marketing, necessidades que não sei se tenho, necessidades futuras, até chegar ao desnecessário, o extraordinário que é demais. A necessidade delira.
A compra é a magia do efêmero. É asa, é brasa. É futuro, promessa, desejo de mudar, intensificação, momento de morte. É o fim da produção, quando as coisas são finalmente absorvidas pela psique.
A compra, ao contrário do que se poderia pensar, dissolve o ego em alma, dissolve o ego heróico em sua fantasia de morte. Comprar é o que resta. Comprar é nosso modo de fazer o mundo virar alma.
BARCELLOS, Gustavo. Disponível em:
http://www.diplomatique.org.br/artigo.php?id=291 Acesso em: 04 dez. 2014. Texto adaptado.
A opção em que todas as palavras apresentam o mesmo processo de formação é:
Provas
Questão presente nas seguintes provas
Uma das principais tecnologias associadas a sistemas de comunicação digital são os chamados códigos corretores de erro. Um exemplo desse tipo de código é o:
Provas
Questão presente nas seguintes provas
O Protocolo IP (Internet Protocol) foi projetado para permitir a conexão de redes de computadores que usam a tecnologia de comutação de pacotes. Sua função é transferir blocos de dados, denominados “datagramas”, da origem ao destino, onde origem e destino são hosts identificados pelo endereço IP. Os endereços IP são números com:
Provas
Questão presente nas seguintes provas
Deseja-se projetar uma estação terrena de recepção de comunicações através de um satélite GEO, operando na faixa de 10,0 GHz, e que transmite uma potência, em EIRP, de 100 watts. O LNB da estação terrena tem uma sensibilidade de -90 dBm, para o ruído de recepção satisfatório. A perda total por precipitações atmosféricas e outras é estimada em 5,6 dB.
Considerando-se, para simplificação do cálculo, que log10 2 !$ \cong !$ 0,30 e log10 3 !$ \cong !$ 0,5, o ganho mínimo da antena do receptor, escolhido entre os valores comerciais abaixo, deverá ser de aproximadamente:
Provas
Questão presente nas seguintes provas
Um lance de uma rede óptica para transmissão de dados liga as localidades A e B distantes 100 km. A rede óptica é constituída por:
1 - transmissor óptico equipado com um laser DFB, que emite uma potência de 10 mW na terceira janela e apresenta uma largura espectral de 2,0 nm (nanometro);
2 - fibra monomodo com dispersão modal desprezível e dispersão cromática de 10 ps/nm.km (pico segundo por nanometro por quilômetro).
O receptor do enlace somente detecta pulsos maiores ou iguais a 500 ps. Pulsos mais estreitos são considerados ruídos e não são detectados. A taxa máxima de dados neste lance será de:
Provas
Questão presente nas seguintes provas
Cadernos
Caderno Container