Foram encontradas 50 questões.
Qual a potência motriz de um ventilador com uma vazão de 21600 m³/h de ar com ρar = 1,2 kg/m³, para uma elevação de 48 mmH2O?
Considere: Pm = ρ.g.Q.H ; g = 10 m/s²; ρH₂O = 1000 kg/m³.
Provas
Considere a figura a seguir.

Fonte: MARCON, E. Carta Psicrométrica. Prof. Edison Marcon. Publicado em: 16 abr. 2018. Disponível em: <http:// profedisonmarcon.blogspot.com/2018/04/calor-4-nas-postagens-anteriores.html>. Acesso em: 16 nov. 2023. (Adaptado)
A carta psicrométrica possibilita visualizar e analisar diferentes misturas de ar e de vapor d'água por meio de um gráfico com o plano cartesiano. Dessa forma, a Temperatura de Bulbo Úmido (TBU) de um determinado ambiente laboral, que apresenta TBS = 23 ºC, UR = 50 % e Var = 0,5 m/s é
Provas
Considere a imagem a seguir.

Fonte: MARQUES, P. V., MODENESI, P. J., BRACARENSE, A. Q. Soldagem: Fundamentos e Tecnologia. Belo Horizonte: Editora UFMG, 2009. (Adaptado)
As trincas são conhecidas como as descontinuidades mais graves em soldagem, podendo ser externas ou internas, ter dimensões micro ou macroscópicas e localizarem-se na Zona Fundida (ZF) ou na Zona Termicamente Afetada (ZTA).
A alternativa que identifica corretamente os tipos de trinca e suas correspondentes localizações, conforme numeração (1, 2, 3 ,4 ,5 ,6 , 7 e 8) ilustrada na figura, é
Provas
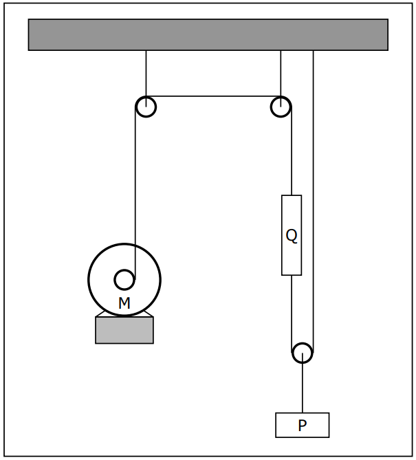
A figura a seguir ilustra um sistema de elevação por cabo das cargas P e Q, que utiliza um motor elétrico M.

Fonte: Elaborador
Considerando que a carga P tem 1000 Kg e é içada com velocidade constante de 3 m/s e que a carga Q tem 500 Kg, analise as afirmações sobre esse sistema. (Use g = 10 m/s2)
I → A velocidade da carga Q é o dobro da velocidade da carga P.
II → A potência desenvolvida pelo motor para elevar a carga P é de 60 KW.
III → A tensão máxima no cabo é de 15000 N.
Está(ão) correta(s)
Provas
Com relação à transmissão de calor, associe os métodos apresentados na coluna à esquerda com as suas respectivas descrições na coluna à direita.
|
(1) Condução |
( ) Processo pelo qual o calor é transferido entre átomos e/ou moléculas vizinhas em uma substância devido a um gradiente de temperatura. |
|
(2) Convecção |
( ) Processo pelo qual o calor é transferido de um corpo em razão de sua temperatura, sem o auxílio de qualquer meio intermediário. |
|
(3) Radiação |
( ) Processo pelo qual o calor é transferido de um lugar para outro, pelo deslocamento de meio material, através de correntes que se estabelecem no interior do meio. |
A sequência correta é
Provas
Considere o micrômetro representado na figura.

Fonte: STEFANELLI. E. Micrometro Virtual Simulador Milimetro Milesimal. Eduardo J. Stefanelli.
Disponível em: <https://www.stefanelli.eng.br/micrometro-virtual-simulador-milimetro-milesimal/>. Acesso em: 16 nov. 2023. (Adaptado)
Assinale a alternativa que corresponde à leitura da medida ilustrada.
Provas
Observe o sistema articulado representado na figura.

Fonte: Elaborador
Considerando que a barra 2 tem 5 cm de comprimento e gira com velocidade angular de 10 rad/s, no sentido anti-horário, para esta situação instantânea, a velocidade do ponto C, localizado na metade da barra 4, é
Dados: cos(30º) = !$ \dfrac{\sqrt{3}}{2} !$; sen(30º) = !$ \dfrac{1}{2} !$; cos(45º) = !$ \dfrac{\sqrt{2}}{2} !$; sen(45º) = !$ \dfrac{\sqrt{2}}{2} !$
Provas
O tempo para o enchimento de um reservatório cilíndrico de 376,8 litros, sabendo-se que o diâmetro do tubo conectado ao reservatório é de 40 mm e a velocidade de escoamento do líquido é de 0,5 m/s, é
Provas
Sobre motores de combustão interna, assinale V (verdadeiro) ou F (falso) em cada afirmativa a seguir.
( ) Nos motores de Ciclo Otto, a combustão ocorre por autoignição, devido ao contato do combustível com o ar quente.
( ) Nos motores de Ciclo Diesel, exceto aqueles de injeção direta de combustível, a mistura é introduzida já homogeneizada e dosada.
( ) Nos motores de Ciclo Otto, a taxa de compressão é relativamente baixa, para não provocar autoignição.
( ) Nos motores de Ciclo Diesel, a taxa de compressão deve ser suficientemente elevada, para ultrapassar a temperatura de autoignição do combustível.
( ) Os motores de Ciclo Otto podem ter 2 ou 4 tempos.
( ) Os motores de Ciclo Diesel só podem ter refrigeração à água.
A sequência correta é
Provas
Considerando o mandrilamento de uma superfície cilíndrica de 100 mm de diâmetro por 45 cm de comprimento, de aço 1045, com uma ferramenta de metal duro, classe ISO-P15, com 3 arestas de corte, empregando velocidade de corte de 94,2 m/min e avanço de 0,05 mm/aresta, qual o tempo efetivo de corte?
(Use π = 3,14)
Provas
Caderno Container