Foram encontradas 25.283 questões.
Segundo a ABNT NBR 15215:2005 – Iluminação natural - parte 1 - o uso otimizado da luz natural em edificações usadas principalmente durante o dia pode, pela substituição da luz artificial, produzir uma contribuição significativa para a redução do consumo de energia elétrica, melhoria do conforto visual e bem-estar dos ocupantes. Esta norma apresenta dados, técnicas e informações básicas num formato conveniente para ajudar aqueles profissionais envolvidos no projeto de edificações. Em relação as definições e conceitos básicos contidos na norma é correto afirmar que:
Provas
No programa REVIT 2019 versão português-BR o comando porta permite selecionar uma família de portas carregadas ou carregar famílias externas, e inseri-las no modelo que está sendo criado, sobre esta família e o comando é correto afirmar que:
Provas
A escada de emergência é uma escada integrante de uma rota de saída, podendo ser uma escada enclausurada à prova de fumaça, escada enclausurada protegida ou escada não enclausurada, de acordo com a ABNT NBR 9077:2001 – Saídas de emergência em edifícios. No que diz respeito às condições exigíveis para escadas estabelecidas por essa norma, é correto afirmar que:
Provas
As esquadrias são utilizadas na construção civil como elemento de fechamento de vãos, podendo ser de madeira, alumínio ou PVC. As esquadrias, como portas e janelas, são formadas por componentes que juntos são responsáveis pelo perfeito funcionamento do conjunto. Segue abaixo a descrição de um destes componentes.
“Componente que forma o quadro externo da esquadria, no qual são alojados os caixilhos ou folhas.”
O componente acima apresentado se refere a:
Provas
A representação gráfica em projetos de arquitetura é fundamental para a compreensão do desenho. Neste intuito, a ABNT NBR 6492:1994 - Representação de projetos de arquitetura - estabelece as caraterísticas das linhas de representação, que devem ser utilizadas como padrão a depender do que será representado. De acordo com esta norma, é correto afirmar que:
Provas
Janela de duas folhas articulada por movimento corrediço vertical. Não permite abertura total do vão, sobrepondo-se quando se quer abrir. Sua posição é regulada por meio de contrapeso, mola ou borboleta. O tipo de janela descrito se refere a:
Provas
A ABNT NBR 6492:1994 - Representação de projetos de arquitetura - fixa as condições exigíveis para representação gráfica de projetos de arquitetura, visando à sua boa compreensão. De acordo com esta norma, a fase de projeto caracterizada como estudo preliminar esta corretamente descrita em:
Provas
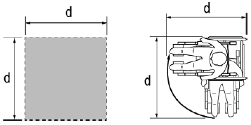
Em se tratando de acessibilidade, algumas medidas mínimas são necessárias para a manobra de cadeira de rodas sem deslocamento, com rotação de 90°, conforme representação abaixo.

A medida “d” a que se refere a representação acima é:
Provas
- Tecnologia das ConstruçõesSistemas e Elementos ConstrutivosSistemas EstruturaisEstruturas de Concreto
Em uma edificação, as lajes realizam a interface entre pavimentos, podendo dar suporte a contrapisos e/ou funcionar como teto. Sobre esse elemento estrutural, numere a segunda coluna de acordo com a primeira coluna.
Primeira coluna:
1- Laje cogumelo
2- Laje alveolar
3- Laje maciça
Segunda coluna:
( ) Compostas por painéis protendidos que permitem vencer grandes vãos, indicadas para projetos de grande porte.
( ) Laje de concreto armado com espessura constante, moldada in loco a partir do lançamento do concreto fresco sobre um sistema de formas planas. Utilizada quando não há necessidade de vencer grandes vãos.
( ) São apoiadas diretamente sobre pilares, podem ser maciças, de concreto armado ou protendido, ou incorporadas com material inerte. Pode dispor de capitel quadrado ou circular, cuja laje se apoia sobre o ele.
Assinale a alternativa que indica a sequência correta:
Provas
De acordo com a NBR 9050, o alarme de emergência para sanitário deve ser instalado próximo à bacia, no boxe do chuveiro e na banheira para acionamento por uma pessoa sentada ou em caso de queda nos sanitários, banheiros e vestiários acessíveis. Recomenda-se a instalação de dispositivos adicionais em posições estratégicas, como lavatórios e portas, dentre outros. A partir dessas informações, analise a imagem.

A altura de instalação representada em “x” na figura, de acordo com a NBR 9050, deve ser de:
Provas
Caderno Container