Foram encontradas 80 questões.
Durante a execução de serviços de pintura em paredes internas de
alvenaria que receberam recentemente emboço e reboco, o
engenheiro responsável deve orientar a equipe quanto ao tempo
mínimo de cura e secagem do revestimento, bem como aos
procedimentos de preparo da superfície, de modo a evitar
problemas como destacamento, bolhas e manchas na película de
tinta.
Considerando as boas práticas de pintura predial, são cuidados recomendados antes da aplicação da pintura:
Considerando as boas práticas de pintura predial, são cuidados recomendados antes da aplicação da pintura:
Provas
Questão presente nas seguintes provas
Durante a execução do sistema de impermeabilização de uma laje
em uma edificação multifamiliar, o memorial descritivo prevê a
aplicação de uma camada preliminar diretamente sobre o
substrato (base), antes da instalação da manta ou membrana
impermeável, com o objetivo de melhorar a aderência do material
impermeabilizante ao suporte.
De acordo com a terminologia usual dos sistemas de impermeabilização, essa camada é denominada
De acordo com a terminologia usual dos sistemas de impermeabilização, essa camada é denominada
Provas
Questão presente nas seguintes provas
A figura a seguir apresenta o esquema geral de uma esquadria e de alguns de seus elementos.

Nesse esquema, os elementos indicados por 1, 2 e 3 são denominados, respectivamente,
Provas
Questão presente nas seguintes provas
Em um município de médio porte, a Secretaria de Obras e Serviços
Urbanos pretende implantar uma unidade de compostagem para
o tratamento da fração orgânica dos resíduos sólidos urbanos
(restos de alimentos e podas), com o objetivo de reduzir o envio
de rejeitos ao aterro sanitário e de produzir composto para uso em
praças e jardins públicos.
Para garantir a eficiência do processo e evitar problemas operacionais (como odores, atração de vetores e baixa estabilização do material), o engenheiro responsável deve adotar condições operacionais adequadas no pátio de compostagem.
Uma medida tecnicamente adequada para o processo de compostagem é
Para garantir a eficiência do processo e evitar problemas operacionais (como odores, atração de vetores e baixa estabilização do material), o engenheiro responsável deve adotar condições operacionais adequadas no pátio de compostagem.
Uma medida tecnicamente adequada para o processo de compostagem é
Provas
Questão presente nas seguintes provas
No projeto e operação de sistemas de saneamento e manejo de
resíduos sólidos urbanos, o engenheiro civil deve prever medidas
de controle para evitar a proliferação de vetores (como roedores,
moscas e mosquitos).
Sobre as diretrizes técnicas para o controle de vetores em infraestruturas urbanas, avalie as afirmativas a seguir.
I. O controle de vetores em canteiros de obras de grande porte deve ser realizado exclusivamente por meio de barreiras químicas (inseticidas), sendo as medidas de engenharia (como drenagem de valas e gestão de entulho) consideradas secundárias.
II. Em aterros sanitários, a cobertura diária dos resíduos com uma camada de solo compactado é uma medida primordial para evitar o acesso de vetores à fonte de alimento e impedir a oviposição de insetos.
III. Reservatórios de detenção de águas pluviais devem ser projetados para manter uma lâmina d'água permanente (espelho d'água) sem movimentação, visando facilitar a decantação de sólidos e o controle biológico natural de pragas.
Está correto o que se afirma apenas em
Sobre as diretrizes técnicas para o controle de vetores em infraestruturas urbanas, avalie as afirmativas a seguir.
I. O controle de vetores em canteiros de obras de grande porte deve ser realizado exclusivamente por meio de barreiras químicas (inseticidas), sendo as medidas de engenharia (como drenagem de valas e gestão de entulho) consideradas secundárias.
II. Em aterros sanitários, a cobertura diária dos resíduos com uma camada de solo compactado é uma medida primordial para evitar o acesso de vetores à fonte de alimento e impedir a oviposição de insetos.
III. Reservatórios de detenção de águas pluviais devem ser projetados para manter uma lâmina d'água permanente (espelho d'água) sem movimentação, visando facilitar a decantação de sólidos e o controle biológico natural de pragas.
Está correto o que se afirma apenas em
Provas
Questão presente nas seguintes provas
A figura a seguir apresenta parte da instalação elétrica de uma edificação unifamiliar.

Sobre essa instalação, analise as afirmativas a seguir.
I. O interruptor (e) é de comando composto.
II. O eletroduto (A) contém um condutor fase, um condutor neutro e um retorno.
III. O eletroduto (B) contém um condutor fase, um condutor neutro e um fio de aterramento.
Está correto o que se afirma apenas em
Provas
Questão presente nas seguintes provas
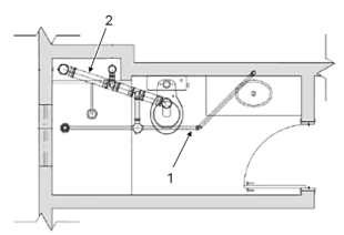
Parte da planta de instalações hidrossanitárias de uma residência
unifamiliar é apresentada na figura a seguir.
(Adaptado de https://blog.telhanorte.com.br/como-fazer-a-hidraulica-do-banheiropasso-a-passo/)
Os diâmetros das tubulações 1 e 2, desconsiderando qualquer cálculo para dimensionamento específico, valem, respectivamente
(Adaptado de https://blog.telhanorte.com.br/como-fazer-a-hidraulica-do-banheiropasso-a-passo/)
Os diâmetros das tubulações 1 e 2, desconsiderando qualquer cálculo para dimensionamento específico, valem, respectivamente
Provas
Questão presente nas seguintes provas
A figura a seguir ilustra a vista frontal (à esquerda) e a vista lateral
(à direita) de parte das ligações realizadas na cisterna de uma
edificação, onde AP é o alimentador predial e EX é o duto
extravasor.
Considerando que o diâmetro (d) do alimentador predial é de 20 mm, os valores mínimos de L e S correspondem a
Considerando que o diâmetro (d) do alimentador predial é de 20 mm, os valores mínimos de L e S correspondem a
Provas
Questão presente nas seguintes provas
Para a concretagem de uma laje maciça com volume total de
7,41 m3
, o engenheiro responsável especificou um concreto com
traço em massa (peso) de 1:2:3 e relação água/cimento de 0,50.
Sabe-se que:
• Massa específica do cimento = 3,0 kg/m3 ;
• Massa específica da brita = 2,7 kg/m3 ;
• Massa específica da areia = 2,5 kg/m3 ;
• Massa específica da água = 1,0 kg/m3.
Desprezando o ar incorporado e considerando que um saco de cimento possui 50 kg, a quantidade mínima estimada de sacos de cimento necessários para realizar essa concretagem é, aproximadamente,
• Massa específica do cimento = 3,0 kg/m3 ;
• Massa específica da brita = 2,7 kg/m3 ;
• Massa específica da areia = 2,5 kg/m3 ;
• Massa específica da água = 1,0 kg/m3.
Desprezando o ar incorporado e considerando que um saco de cimento possui 50 kg, a quantidade mínima estimada de sacos de cimento necessários para realizar essa concretagem é, aproximadamente,
Provas
Questão presente nas seguintes provas
Um teste realizado no concreto fresco é apresentado
esquematicamente na figura a seguir.
Esse teste tem como um dos objetivos avaliar diretamente a
Esse teste tem como um dos objetivos avaliar diretamente a
Provas
Questão presente nas seguintes provas
Cadernos
Caderno Container