Foram encontradas 492 questões.
Com relação aos processos mecânicos de fabricação por usinagem e conformação, julgue o item a seguir.
Em comparação ao forjamento livre, o forjamento em matriz fechada possibilita melhor aproveitamento do material, melhor precisão dimensional, alta taxa de produção e boa reprodutibilidade. No entanto, sua principal limitação é o alto custo do ferramental para pequenas quantidades e a necessidade frequente de usinagem da peça para obtenção das dimensões finais.
Provas
Questão presente nas seguintes provas
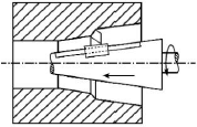
Com relação aos processos mecânicos de fabricação por usinagem e conformação, julgue o item a seguir.
A figura abaixo representa uma operação de usinagem denominada brochamento cônico.

Provas
Questão presente nas seguintes provas
Julgue o item a seguir, a respeito de análise e descrição de cargos na função de gestão de pessoas.
Constitui objetivo da moderna análise de cargos auxiliar a organização a estabelecer tanto as características do cargo quanto os requisitos para seleção e desempenho, sendo a análise do inventário de tarefas um dos métodos para reunir as informações necessárias à análise de cargos.
Provas
Questão presente nas seguintes provas
Em relação à Lei n.º 8.112/1990, ao Código de Ética Profissional do Servidor Público Civil do Poder Executivo Federal e à Lei n.º 9.784/1999, julgue o item a seguir.
Se a pena de demissão imposta a determinado servidor público estável pertencente aos quadros de uma autarquia federal for invalidada por decisão judicial em ação proposta pelo servidor para questionar a decisão administrativa, esse servidor deverá ser aproveitado no cargo por ele anteriormente ocupado ou em outro cargo de vencimentos e responsabilidades compatíveis com o anterior, mas não terá direito a ressarcimento das vantagens pecuniárias.
Provas
Questão presente nas seguintes provas
906529
Ano: 2013
Disciplina: Ética na Administração Pública
Banca: CESPE / CEBRASPE
Orgão: ANCINE
Disciplina: Ética na Administração Pública
Banca: CESPE / CEBRASPE
Orgão: ANCINE
Provas:
- UniãoExecutivoDecreto 1.171/1994: Código de Ética do Servidor Público Civil do Poder Executivo Federal
Em relação à Lei n.º 8.112/1990, ao Código de Ética Profissional do Servidor Público Civil do Poder Executivo Federal e à Lei n.º 9.784/1999, julgue o item a seguir.
A publicidade de todo e qualquer ato administrativo constitui requisito de eficácia e moralidade, ensejando sua omissão comprometimento ético contra o bem comum, imputável a quem a negar.
Provas
Questão presente nas seguintes provas
906528
Ano: 2013
Disciplina: Ética na Administração Pública
Banca: CESPE / CEBRASPE
Orgão: ANCINE
Disciplina: Ética na Administração Pública
Banca: CESPE / CEBRASPE
Orgão: ANCINE
Provas:
- UniãoExecutivoDecreto 1.171/1994: Código de Ética do Servidor Público Civil do Poder Executivo Federal
Com base na Lei n.º 8.112/1990 e no Código de Ética Profissional do Servidor Público Civil do Poder Executivo Federal (Decreto n.º 1.171/1994), julgue o item seguinte.
Para fins de apuração do comprometimento ético, o conceito de servidor público é bastante amplo, abrangendo os que, por força de qualquer ato jurídico, prestem serviços de natureza excepcional, mesmo que não remunerados, ou os que estejam ligados apenas indiretamente a um órgão do poder estatal.
Provas
Questão presente nas seguintes provas
Trocadores ou permutadores de calor são equipamentos em que dois fluidos com temperaturas diferentes trocam de temperatura através de uma interface metálica. Com relação aos tipos de trocadores de calor, julgue o item que se segue.
A finalidade da colocação de chicanas no lado do casco nos trocadores de calor do tipo casco e tubo é dar suporte aos tubos contra flexão e vibração e guiar o fluido do casco através do feixe de tubos, o que aumenta a convecção forçada sobre os tubos.
Provas
Questão presente nas seguintes provas
Considerando que, em um regime estacionário, as temperaturas superficiais interna e externa de uma janela de vidro, medindo 1 m × 3 m e 5 mm de espessura, sejam 15 ºC e 5 °C,em um regime estacionário, respectivamente, e que a condutividade do vidro seja igual a 1,4 W/m, julgue o item seguinte.
A perda de calor dessa janela depende apenas da diferença das temperaturas das superfícies interna e externa do vidro.
Provas
Questão presente nas seguintes provas
Com relação ao funcionamento e à operação de motores elétricos, julgue o próximo item.
O motor elétrico do tipo universal, embora construído de forma similar aos motores de corrente contínua, somente funciona se for ligado à corrente alternada monofásica.
Provas
Questão presente nas seguintes provas
Trocadores ou permutadores de calor são equipamentos em que dois fluidos com temperaturas diferentes trocam de temperatura através de uma interface metálica. Com relação aos tipos de trocadores de calor, julgue o item que se segue.
Para valores idênticos de temperaturas de entrada e saída das correntes e mesmo valor do coeficiente global de transferência de calor local, a configuração de um trocador de calor em paralelo é mais eficiente que a configuração em contracorrente, pois requer uma área menor para trocar calor a uma taxa fixa.
Provas
Questão presente nas seguintes provas
Cadernos
Caderno Container