Foram encontradas 60 questões.
A prefeitura de certo município dispõe de um determinado número de mudas de árvores para serem plantadas em um trecho de n quilômetros de uma rodovia vicinal. Constatou-se que se forem plantadas 20 mudas a cada quilômetro, faltarão 40 mudas. Entretanto, se forem plantadas 16 mudas a cada quilômetro, sobrarão 20 mudas.
O número de mudas disponíveis para essa finalidade é igual a
Provas
Provas
Provas
Considere os fatos a seguir, na ordem em que estão relatados.
I. Gastei a terça parte do que tinha.
II. Recebi a metade do que tinha.
III. Recebi a terça parte do que tinha.
IV. Gastei a sexta parte do que tinha.
Em relação à quantidade que tinha no início, agora tenho
Provas
Provas
Para ter uma conta em banco, o brasileiro paga uma tarifa mensal que lhe dá acesso a um determinado pacote de serviços. O gráfico de setores, resultado de um levantamento feito com usuários dos cinco maiores bancos do País, mostra a distribuição percentual dos valores mensais pagos.

Se 40 920 usuários afirmaram que pagam mensalmente valores que vão de R$ 21,00 até R$ 60,00, então o número total de pessoas ouvidas nesse levantamento foi igual a
Provas
A figura mostra um canteiro retangular K, que ocupa 21 m2 da área total de um jardim quadrado ABCD.

Se a razão entre a área do canteiro K e a área restante do jardim (sombreada na figura) é de 7 para 20, então a medida do lado do jardim ABCD é igual a
Provas
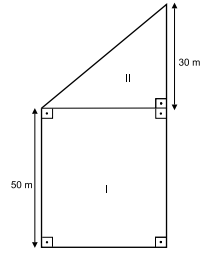
A figura representa o terreno I, de formato retangular, cuja área é 2000 m2 , e o terreno II, com a forma de um triângulo retângulo, que foram unidos para a construção de um condomínio.

O perímetro do terreno único formado com a junção dos terrenos I e II é igual a
Provas
A figura a seguir foi construída com quatro triângulos equiláteros. A medida do lado do triângulo B é o dobro da medida do lado do triângulo A. A medida do lado do triângulo C é o dobro da medida do lado do triângulo B. A medida do lado do triângulo D é o dobro da medida do lado do triângulo C.

A superfície ocupada pelo triângulo D é equivalente a X vezes a superfície ocupada pelo triângulo A. A superfície total ocupada pelos triângulos A, B e C é equivalente a Y vezes a superfície ocupada pelo triângulo A. O valor de X – Y é igual a
Provas
Provas
Caderno Container