Foram encontradas 600 questões.
Para o tratamento aberto dos Aneurismas de Aorta Abdominal (AAAs), várias exposições podem ser usadas, cada uma com seus méritos e desvantagens. As opções incluem a abordagem transperitoneal, por meio de uma longa incisão na linha média, ou de uma minilaparotomia, ou a abordagem retroperitoneal, por meio de uma incisão no flanco esquerdo. São situações cuja abordagem retroperitoneal é preferida, EXCETO:
Provas
Questão presente nas seguintes provas
Sobre o câncer colorretal hereditário não polipose, também conhecido como síndrome de Lynch, é INCORRETO afirmar que:
Provas
Questão presente nas seguintes provas
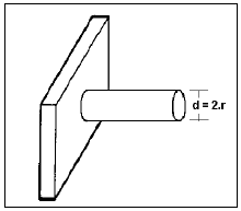
Um sistema de refrigeração a ar usa aletas tipo pino conforme a ilustração apresentada. Sabe-se que m é o coeficiente de aleta dado por: !$ m= {\large \sqrt {h*P \over K * A_t}} !$ , onde h é o coeficiente de transferência de calor por convecção, P é o perímetro da aleta, k é o coeficiente de transferência de calor por condução e At é a área da secção transversal ao gradiente principal de temperatura da aleta.
(Considere: π = 3,14, r = raio da aleta.)

Determine “m” para a configuração de aletas tipo pino.
Provas
Questão presente nas seguintes provas
Nos métodos de coloração de esfregaço em parasitologia, são reagentes utilizados na coloração pela hematoxilina férrica, segundo Heidenhain, modificada por Burrows, EXCETO:
Provas
Questão presente nas seguintes provas
De acordo com Santrock (2009, p. 7-8), as habilidades motivacionais dão aos estudantes a oportunidade de pensar de forma criativa e profunda sobre objetos, situações e experiências de modo geral. Essa concepção remete a algumas estratégias de ensino adotadas por professores no processo de ensino-aprendizagem. De acordo com essa concepção e as estratégias que podem ser adotadas no referido processo, relacione adequadamente as colunas a seguir.
1. Abordagem construtivista.
2. Abordagem do ensino direto.
2. Abordagem do ensino direto.
( ) Centrada no estudante, enfatiza a importância de o indivíduo construir ativamente o conhecimento e a compreensão com orientação do professor.
( ) Os estudantes geralmente são controlados e orientados na exploração de elementos do mundo, visando assegurar o progresso no desempenho adâmico.
( ) Os estudantes devem ser encorajados a explorar o mundo, descobrir conhecimento, refletir e pensar criticamente com monitoramento cuidadoso e orientação significativa do professor.
( ) Centrada na estruturação e centralização de expectativas para o progresso do estudante, para o máximo tempo empenhado no cumprimento de tarefas e na manutenção de um quantum mínimo de aspectos negativos.
A sequência está correta em
Provas
Questão presente nas seguintes provas
Em relação ao diagnóstico, tratamento e prognóstico da necrose pulpar em dente decíduo após traumatismo, é correto afirmar que:
Provas
Questão presente nas seguintes provas
Para medir a pressão em um recipiente foi utilizado um manômetro de mercúrio, conforme a imagem a seguir. Sabe-se que o mercúrio apresenta massa específica igual a 13 590 kg/m3 e que a diferença entre as alturas das colunas é de 36 cm.
(Considere: pressão atmosférica de 750 mm Hg e aceleração da gravidade 9,807 m/s2.)

Assinale a alternativa que a apresenta, aproximadamente, a pressão no recipiente.
Provas
Questão presente nas seguintes provas
Sobre a NBR 6032, marque V para as afirmativas verdadeiras e F para as falsas.
( ) O método normal de abreviação consiste em suprimir o final das palavras, substituindo por um ponto.
( ) Os títulos constituídos de uma palavra, simples ou composta, acompanhada ou não do artigo, não devem ser abreviados.
( ) A ordem das palavras do título original deve ser respeitada na abreviação.
( ) Os títulos constituídos de uma palavra, simples ou composta, acompanhada ou não do artigo, não devem ser abreviados.
( ) A ordem das palavras do título original deve ser respeitada na abreviação.
A sequência está correta em
Provas
Questão presente nas seguintes provas
Os cistos sinoviais apresentam-se como massas flutuantes adjacentes às articulações acometidas (grandes ou pequenas). Os cistos sinoviais do joelho são, talvez, o melhor exemplo desse fenômeno. O joelho inflamado produz um excesso de líquido sinovial que pode acumular-se posteriormente por um efeito de valva unidirecional estabelecido entre a articulação do joelho e o espaço poplíteo. Como é conhecido o cisto sinovial que se apresenta na localização anterior?
Provas
Questão presente nas seguintes provas
A sífilis congênita é o resultado da transmissão do Treponema pallidum da gestante infectada não tratada ou inadequadamente tratada para o feto. Sobre esta doença infectocontagiosa, é INCORRETO afirmar que:
Provas
Questão presente nas seguintes provas
Cadernos
Caderno Container