Foram encontradas 49 questões.
1223779
Ano: 2011
Disciplina: Segurança e Saúde no Trabalho (SST)
Banca: CESGRANRIO
Orgão: CITEPE
Disciplina: Segurança e Saúde no Trabalho (SST)
Banca: CESGRANRIO
Orgão: CITEPE
Provas:
O acidente do trabalho deve-se, principalmente, a duas causas:
• Ato Inseguro - é o ato praticado pelo homem, em geral consciente do que está fazendo, que está contra as normas de segurança.
• Condição Insegura - é a condição do ambiente de trabalho que oferece perigo e/ou risco ao trabalhador.
É considerado ato inseguro
• Ato Inseguro - é o ato praticado pelo homem, em geral consciente do que está fazendo, que está contra as normas de segurança.
• Condição Insegura - é a condição do ambiente de trabalho que oferece perigo e/ou risco ao trabalhador.
É considerado ato inseguro
Provas
Questão presente nas seguintes provas
1223778
Ano: 2011
Disciplina: Segurança e Saúde no Trabalho (SST)
Banca: CESGRANRIO
Orgão: CITEPE
Disciplina: Segurança e Saúde no Trabalho (SST)
Banca: CESGRANRIO
Orgão: CITEPE
Provas:
Em ambientes onde barulhos e ruídos acontecem de forma sistemática e com grande intensidade, faz-se necessário que as pessoas estejam equipadas para evitar doença profissional, mais especificamente a PAIR (Perda Auditiva Induzida pelo Ruído), que é considerada como um acidente do trabalho. Que tipo de EPI (Equipamento de Proteção Individual) deve ser usado no intuito de evitar esse tipo de acidente?
Provas
Questão presente nas seguintes provas
A chave de parafusos é uma ferramenta constituída de um corpo de metal e um punho (ou cabo), cuja função é
girar parafusos para apertá-los ou afrouxá-los. Por sua vez, os parafusos são constituídos de corpo
rosqueado e cabeça de diversos padrões, tais como: Phillips, Torx, Posidriv, Allen e Robertson. A figura que
ilustra a cabeça de parafuso classificada como Phillips é
Provas
Questão presente nas seguintes provas

Provas
Questão presente nas seguintes provas

Provas
Questão presente nas seguintes provas

Provas
Questão presente nas seguintes provas

Provas
Questão presente nas seguintes provas

Provas
Questão presente nas seguintes provas

Provas
Questão presente nas seguintes provas
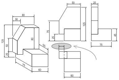
Um desenho técnico deve conter todas as informações relativas ao projeto da peça. Nesse contexto, analise a figura a seguir.

Qual o valor da cota da vista superior não especificada destacada na figura?

Qual o valor da cota da vista superior não especificada destacada na figura?
Provas
Questão presente nas seguintes provas
Cadernos
Caderno Container