Foram encontradas 30 questões.

Na verificação da excentricidade de uma peça cilíndrica, de 28 mm de diâmetro, o inspetor utilizou um relógio comparador, conforme desenho acima, adotando o seguinte procedimento:
I - sustentou a peça entre pontas;
II - ajustou o ponto zero do instrumento na parte mais baixa da peça;
III - girou a peça até o máximo desvio registrado pelo ponteiro, que foi de 0,18 mm;
IV - verificou a resolução do instrumento, encontrando o valor de 0,01 mm.
Com base neste procedimento, o inspetor concluiu corretamente que a peça apresentava uma excentricidade de valor, em milímetros, igual a:
Provas
Durante o processo de soldagem a gás, em que são empregados o oxigênio e o acetileno, ambos acondicionados em cilindros próprios, é comum observar, por vezes, no carrinho de solda, o cilindro de acetileno na posição horizontal, e o de oxigênio, na posição vertical. Tal situação se reveste de grande perigo, no momento da utilização da solda, devido à possibilidade de:
Provas
O desenho acima ilustra a abertura de um furo em uma chapa mediante operação com uso de punção. Dados referentes ao material e ao processo para obter o furo:
Chapa: aço carbono
Força aplicada \( \rightarrow \) 3400 N
Espessura da chapa: 1,5 cm
Furo a ser realizado: diâmetro 20 mm
Adotando \( \pi \)= 3,14, deve-se concluir que, para realizar esse furo, a pressão de corte em unidades do sistema internacional foi da ordem de:
Provas

Na determinação do ângulo de uma peça, um inspetor de controle dimensional, utilizando um goniômetro, encontrou o valor correspondente à leitura indicada no desenho acima.

Sendo assim, em se tratando do ângulo , indicado no desenho da peça, esse valor deverá corresponder a:
Provas
Ao realizar uma solicitação de usinagem, utilizando o processo de torneamento, você determina que o equipamento seja regulado para 90 Rpm. Sendo o diâmetro da peça a ser usinada de 150 mm, a velocidade de corte, em m/min, estará na faixa de:
Provas
Você resolve preparar um eixo, e sua necessidade é de que a superfície desse eixo tenha uma excelente resistência à abrasão (alta dureza) e o seu interior seja bem macio (baixa dureza). Sendo assim, você seleciona um aço de baixo carbono e o submete a um tratamento térmico de cementação sólida. Envolvendo a peça numa mistura carbonetante (carvão vegetal em pó) dentro de uma caixa fechada, coloca-a dentro de um forno cuja temperatura, em graus Celsius, deverá ser regulada para a faixa de:
Provas

Em operações de usinagem com plaina limadora, os ângulos da ferramenta de corte, ilustrados no desenho acima, se revestem da maior importância, tendo em vista a resistência do material a ser usinado. Assinale a opção que apresenta corretamente esses ângulos.
| ângulo de cunha |
ângulo de folga | ângulo de saída |
Provas

Um torneiro mecânico, ao medir o diâmetro de um eixo, utilizou um paquímetro cuja configuração está representada no desenho acima.
Realizando a leitura do diâmetro do eixo, o torneiro deverá apresentar como resultado desta medição o valor de:
Provas

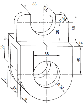
Na realização do desenho em perspectiva, apresentado acima, o desenhista cometeu um erro durante a cotagem. Avaliando as cotas existentes, verifica-se que este ERRO está à cota de valor igual a:
Provas

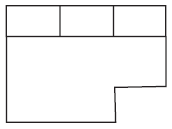
Dada a perspectiva da peça acima, a vista superior da referida peça está devidamente representada em:
Provas
Caderno Container