Foram encontradas 248 questões.

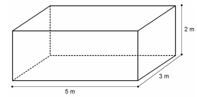
Essa imagem representa o projeto de um reservatório para coleta de óleo após a troca, a ser construído em um posto. Considerando as medidas apresentadas, o volume do reservatório, em m3 , será igual a
Provas
Quilates (K) é a unidade de medida da proporção de ouro em uma liga de metal. Como o 24 quilates é de 99,9% de ouro, sua composição é a mais próxima do ouro puro. Ouro 24 quilates é macio, mas resistente, nunca manchará e é hipoalergênico. Ouro 18 quilates, ou 75%, é combinado com outros metais, sendo assim mais forte que ouro de 24 quilates. No entanto, isso pode fazer com que a liga se manche e cause reações alérgicas em uma pele sensível. Ouro 18 quilates é quase sempre de valor inferior ao de 24 quilates, já que os preços são fundamentados na pureza do metal.
Disponível em: < www.ehow.com.br/diferenca-precos-ouro-18-quilates-24-quilates-sobre_264101/>. Acesso em: 26 ago. 2015, com adaptações.
Para facilitar a tabela de preços, um joalheiro estipulou os preços das joias em valores diretamente proporcionais à porcentagem de ouro. Nessa situação hipotética, uma peça fabricada em ouro 24 quilates é vendida por R$ 3.000,00, então, se fabricada em ouro 18 quilates, deverá ser vendida por
Provas
Provas

Em determinado ponto do trajeto, um motorista avistou a placa apresentada. Com base nessas informações, é correto afirmar que a infração gravíssima começa a ser praticada em velocidade acima de
Provas
Com base no exposto e considerando que, em cada dia, foi aplicado o mesmo número de multas, é correto afirmar que o número de multas aplicadas diariamente na capital mineira, no período mencionado, é aproximadamente igual a
Provas

Provas
Tabela: Classificação de lipoproteínas de baixa densidade (LDL) segundo o Painel de Tratamentos de Adultos (Atp III).

Essa tabela apresenta a interpretação dos níves de LDL colesterol de acordo com os critérios da ATP (Adult Treatment Panel III).
Considere hipoteticamente que o exame de um paciente apresentou como resultado o valor de 240 mg/dL. O médico indicou um tratamento e, 30 dias depois, esse valor foi reduzido em 20%. Não satisfeito, o doutor modificou o tratamento e, 30 dias depois, constatou-se a redução de 30% em relação ao último valor. Com base no exposto, é correto afirmar que o paciente, após o segundo tratamento, teve como interpretação do resultado apresentado o nível
Provas
Provas
Provas
Provas
Caderno Container