Foram encontradas 96 questões.
Sejam as funções !$ y_1=\large{3^{x+3}.9^x \over 81^{3x-2}} !$ e !$ y_2=\large{27^{2x} \over 243^{1-x}} !$. Determine o valor de !$ x !$ para que !$ y_1=y_2 !$.
Provas
Read the text and answer question.
Anne With an E fans wage digital war with Netflix over cancellation
Anne Shirley, the outspoken orphan who first appeared in Lucy Maud Montgomery’s 1908 novel, Anne of Green Gables, has since appeared in countless movies and television spinoffs – and built a loyal global following. So it should probably come as little surprise that fans of the show’s latest remake – the TV series Anne With an E – are fiercely protective of their heroine. And like Anne, they’re willing to fight for what they believe in.
The shows coproducers, Netflix and CBC, announced that the drama would be cancelled after three seasons. “People were outraged. The cast and the crew were also blindsided by it,” said Lisa E, a Toronto-based organizer with AWAE Fan Projects. “Everyone loves the show obviously. They just couldn’t believe it.” The day after the announcement, a group of fans took to Twitter with rallying cry: renew the show. The group’s most successful – and most controversial – campaign has been a digital, guerilla-style battle against the two companies.
Adapted from https://www.theguardian.com/world/2020/apr/22/anne-withan-e-show-cancelled-angry-fans
According to the text:
Provas
Read the text and answer question.
Anne With an E fans wage digital war with Netflix over cancellation
Anne Shirley, the outspoken orphan who first appeared in Lucy Maud Montgomery’s 1908 novel, Anne of Green Gables, has since appeared in countless movies and television spinoffs – and built a loyal global following. So it should probably come as little surprise that fans of the show’s latest remake – the TV series Anne With an E – are fiercely protective of their heroine. And like Anne, they’re willing to fight for what they believe in.
The shows coproducers, Netflix and CBC, announced that the drama would be cancelled after three seasons. “People were outraged. The cast and the crew were also blindsided by it,” said Lisa E, a Toronto-based organizer with AWAE Fan Projects. “Everyone loves the show obviously. They just couldn’t believe it.” The day after the announcement, a group of fans took to Twitter with rallying cry: renew the show. The group’s most successful – and most controversial – campaign has been a digital, guerilla-style battle against the two companies.
Adapted from https://www.theguardian.com/world/2020/apr/22/anne-withan-e-show-cancelled-angry-fans
The word “blindsided”, in bold in the text, could be replaced by all the words below, EXCEPT:
Provas
Em relação aos triângulos, marque V para verdadeiro e F para falso. Em seguida, assinale a alternativa com a sequência correta.
( ) Triângulo acutângulo é todo triângulo que possui dois lados agudos.
( ) Em todo triângulo, a soma das medidas dos ângulos externos é igual a 360º.
( ) Triângulo obtusângulo é todo triângulo que possui um dos ângulos internos obtuso.
( ) Em todo triângulo, a medida de um ângulo externo é igual a soma das medidas dos ângulos internos não adjacentes a ele.
Provas
Em relação ao uso dos pronomes relativos, analise as sentenças abaixo e marque C para correto e E para errado. Em seguida, assinale a alternativa com a sequência correta.
( ) Essa é a jovem sobre cujos cabelos eu falava.
( ) A estátua da fonte é um anjo, cuja cabeça os passarinhos pousam.
( ) Os amigos de infância eram justamente aqueles com cujas histórias eu me identificava.
( ) Existem mistérios, cujo alcance nos escapa; nem por isso deixam de existir.
Provas
O que é Agricultura Sintrópica?
Dayana Andrade
Não existe uma resposta rápida. Temos que ser francos e, logo de cara, avisar que aqui você não vai encontrar uma receita pronta para copiar e colar. A agricultura sintrópica (também descrita como agrofloresta sucessional) não é um pacote tecnológico que pode ser comprado, nem um plano definitivo de design ajustável para todos os gostos. Ela é, antes de tudo, uma mudança no olhar. É uma nova proposta de leitura dos ecossistemas que abre caminho para que o agricultor aprenda a buscar suas respostas usando outro raciocínio, bem diferente do que estamos acostumados.
A Agricultura Sintrópica é constituída por um conjunto teórico e prático de um modelo de agricultura desenvolvido por Ernst Götsch, no qual os processos naturais são traduzidos para as práticas agrícolas tanto em sua forma, quanto em sua função e dinâmica. Assim podemos falar em regeneração pelo uso, uma vez que o estabelecimento de áreas agrícolas altamente produtivas, e que tendem à independência de insumos e irrigação, tem como consequência a oferta de serviços ecossistêmicos, com especial destaque para a formação de solo, a regulação do microclima e o favorecimento do ciclo da água. Ou seja, o plantio agrícola é concomitante à regeneração de ecossistemas.
Ao invés de receitas, há um conjunto de conceitos e técnicas que viabilizam o acesso a suas características fundamentais. O criador da Agricultura Sintrópica, Ernst Götsch, baseia sua cosmovisão transdisciplinar em muita ciência e a prática diária de mais de cinco décadas. A lógica que orienta sua tomada de decisão percorre um trajeto que nasce na ética de Kant e atravessa a física, a filosofia grega e a matemática. Ele também se apoia na biologia, química, ecologia e botânica, e se abastece da cena tecnológica do momento, adaptando técnicas e ferramentas de outras áreas. Portanto, a agricultura de Ernst Götsch se vale de um encadeamento coerente e sistemático de dados, livre de contradições internas, que não somente percorre uma narrativa lógica como também inclui uma expressão concreta no fim do caminho. Do planejamento à execução do plantio, há método, e há resultado prático. Mais que uma boa ideia, a Agricultura Sintrópica comprovadamente funciona, e pode responder aos maiores desafios sociais e ambientais do nosso tempo.
Disponível em https://agendagotsch.com/pt/what-is-syntropic-farming/
A questão refere-se ao texto acima.
Marque a alternativa que exemplifica a estratégia textual usada pela autora, no primeiro parágrafo, para conceituar Agricultura Sintrópica.
Provas
Read the text a n d answer question.
- I have a question. What would happen if there were a beautiful and highly intelligent child up in heaven waiting to be born and his or her parents decided that the children they already had were enough?
- Your ignorance of theology and medicine is appalling!
- I still think it’s a good question!
Adapted from https://www.peanuts.com/comics/
The words “beautiful”, “highly”, “intelligent” and “child”, in the context, are:
Provas
Na figura a seguir, um bloco de massa m = 1 kg, preso a uma mola, por meio de um fio ideal, a comprime em 10 cm. Determine a altura máxima H, em metros, alcançada pelo bloco, após o fio ser cortado. Considere a constante elástica da mola igual a k = 1000 N/m, a trajetória de A até B sem atrito e a aceleração da gravidade g = 10 m/s2 .

Provas
Leia o trecho da Canção de Renato Russo e, em seguida, assinale a alternativa incorreta quanto ao emprego das normas gramaticais.
“Mas é claro que o Sol vai voltar amanhã/ Mais uma vez, eu sei [...]”
Provas
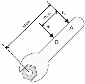
Carlos, professor de Física, procurou, em uma de suas aulas, discutir com seus alunos a facilidade de girar uma porca, com auxílio de uma chave, conforme a figura a seguir. Explicou, então, aos alunos que, para que as forças F1 e F2 , de instensidades distintas, possibilitem à porca, a mesma facilidade de girar em torno do seu eixo, o valor da intensidade de F2 deverá ser:

Provas
Caderno Container