Magna Concursos

Foram encontradas 90 questões.

240083 Ano: 2010
Disciplina: Física
Banca: Marinha
Orgão: Escola Naval
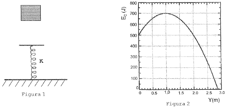
Um bloco é solto de certa altura sobre uma mola ideal vertical que possui constante elástica K, como mostra a figura 1. O bloco passa a ficar preso à mola (despreze as perdas nesta colisão) comprimindo-a até parar momentaneamente. A figura 2 mostra o gráfico da Energia Cinética !$ (E_c) !$ do sistema mola - bloco em função da deformação da mola (Y). Sabe-se que Ec é medida em joules e Y em metros. Analisando o gráfico, conclui-se que o valor da constante elástica K, em N/m, é
enunciado 240083-1
 

Provas

Questão presente nas seguintes provas
239503 Ano: 2010
Disciplina: Português
Banca: Marinha
Orgão: Escola Naval
O menino está fora da paisagem
O menino parado no sinal de trânsito vem em minha direção e pede esmola. Eu preferiria que ele não viesse. A miséria nos lembra de que a desgraça existe, e a morte também. Como quero esquecer a morte, prefiro não olhar o menino. Mas não me contenho e fico observando os movimentos do menino na rua. Sua paisagem é a mesma que a nossa: a esquina, os meios-fios, os postes. Mas ele se move em outro mapa, outro diagrama. Seus pontos de referência são outros.
Como não tem nada, pode ver tudo. Vive num grande playground, onde pode brincar com tudo, desde que "de fora". O menino de rua só pode brincar no espaço "entre" as coisas. Ele está fora do carro, fora da loja, fora do restaurante. A cidade é uma grande vitrine de impossibilidades. O menino-mendigo vê tudo de baixo. Está na altura dos cachorros, dos sapatos, das pernas expostas dos aleijados. O ponto de vista do menino de rua é muito aguçado, pois ele percebe tudo que lhe possa ser útil ou perigoso. Ele não gosta de ideias abstratas. Seu ponto de vista é o contrário do do intelectual: ele não vê o conjunto nem tira conclusões históricas só detalhes interessam. O conceito de tempo para ele é diferente do nosso. Não há segunda-feira, colégio, happy hour. Os momentos não se somam, não armazenam' memórias. Só coisas "importantes": "Está na hora de o português da lanchonete despejar o lixo ... " ou "Estão dormindo no meu caixote ... "
Se pudéssemos traçar uma linha reta de cada olhar do menino-mendigo, teríamos bilhões de linhas para o lado, para baixo, para cima, para dentro, para fora, teríamos um grande painel de imagens. E todas ao rés do chão: uma latinha, um riozinho na sarjeta, um palitinho de sorvete, um passarinho na árvore, uma pipa, um urubu circulando no céu. Ele é um espectador em 360 graus. O menino de rua é em Cinemascope. O mundo é todo seu, o filme é todo seu, só que não dá para entrar na tela. Ou seja, ele assiste a um filme "dentro" da ação. Só que não consta do elenco, ele é um penetra, é uma espécie de turista marginal. Visto de fora, seria melhor apagá-lo. Às vezes apagam.
Se não sentir fome ou dor, ele curte. Acha natural sair do útero da mãe e logo estar junto aos canos de descarga pedindo dinheiro. Ele se acha normal; nós é que ficamos anormais com a sua presença.
Antigamente não o víamos, mas ele sempre nos viu. Depois que começou o medo da violência, ele ficou mais visível. Ninguém fica insensível a ele. Mesmo em quem não o olha, ele nota um fremir quase imperceptível à sua presença. Ele percebe que provoca inquietação (medo, culpa, desgosto, ódio). Todos preferiam que ele não estivesse ali. Por quê? Ele não sabe.
Evitamos olhá-lo, mas ele tenta atrair nossa atenção, pois também quer ser desejado. Mas os olhares que recebe são fugidios, nervosos, de esguelha.
Vejo que o menino se aproxima de um grupo de mulheres com sacolas de lojas. Ele avança lentamente dando passos largos e batendo com uma varinha no chão. Abre-se um vazio de luz por onde ele passa, entre as mulheres - mães e filhas. É uma maneira de pertencer, de existir naquela família ali, mesmo que "de fora", como uma curiosidade. Assim, ele entra na família, um anti-irmãozinho que chega. As mães não têm como explicar aos filhos quem ele é, "por que" eles não são como "ele" (análise social) ou por que "ele" não é como nós (análise política). Porém, normalmente mães e pais evitam explicações, para não despertar uma curiosidade infantil que poderia descer até as bases da sociedade - que os pais não conhecem, mas que se lhes afigura como algo sagrado, em que não se deve mexer.
O menino de rua nos ameaça justamente pela fragilidade. Isso enlouquece as pessoas: têm medo do que atrai. Mais tarde ele vai crescer ... E aí?
O menino de rua tem mais coragem que seus lamentadores: ele não se acha símbolo de nada, nem prenúncio, nem ameaça. Está em casa, ali, na rua. Olhamos o pobrezinho parado no sinal fazendo um tristíssimo malabarismo com três bolinhas e sentimos culpa, pena, indignação. Então, ou damos uma esmola que nos absolva ou pensamos que um dia poderá nos assaltar.
Ele nos obriga ao raríssimo sentimento da solidariedade, que vai contra todos os hábitos de nossa vida egoísta de hoje. E não podemos reclamar dele. É tão pequeno... O mendigo velho, tudo bem, "Bebeu, vai ver a culpa é dele, não soube se organizar, é vagabundo". Tudo bem. Mas o mendigo-menino não nos desculpa, porque ele não tem piedade de si mesmo.
Todas as nossas melhores recordações costumam ser da infância. Saudades da aurora da vida. O menino de rua estraga nossas memórias. Ele estraga a aurora de nossas vidas. Por isso, tentamos ignorá-lo ou o exterminamos. Antes, todos fingiam que ele não existia. Depois das campanhas da fome, surgiram olhares novos. Já sabemos que ele é um absurdo dentro da sociedade e que de alguma forma a culpa é nossa.
Ele tem ao menos uma utilidade: estragando nossa paisagem presente, pode melhorar nosso futuro. O menino de rua denuncia o ridículo do pensamento "genérico-crítico" mostra-nos que uma crítica à injustiça tem de apontar soluções positivas. Ele nos ensina que a crítica e o lamento pelas contradições (como estou fazendo agora) só servem para nos "enobrecer" e "absolver". Para ele, nossos sentimentos não valem nada, e não valem mesmo. Mesmo não sabendo nada, ele sabe das coisas.
(Arnaldo Jabor. O Globo, Segundo Caderno, 14 abr. 2009, p.10)
Em que segmento do texto, há somente sentido denotativo?
 

Provas

Questão presente nas seguintes provas
239297 Ano: 2010
Disciplina: Matemática
Banca: Marinha
Orgão: Escola Naval
Considere o triângulo isósceles ABC inscrito em um círculo, conforme figura abaixo. Suponha que o raio do círculo cresce a uma taxa de 3cm / s e a altura !$ \overline {AD} !$ do triângulo cresce a uma taxa de 5cm / s. A taxa de crescimento da área do triângulo no instante em que o raio e a altura !$ \overline {AD} !$ medem, respectivamente, 10cm e 16cm, é
enunciado 239297-1
 

Provas

Questão presente nas seguintes provas
239270 Ano: 2010
Disciplina: Inglês (Língua Inglesa)
Banca: Marinha
Orgão: Escola Naval
Inside The U.S. Navy's Leadership School
The top leveI of Navy leadership is its admiraIs. There are 238 of them. They have responsibility for more than 390,000 members of the Navy and control an annual budget of more than $130 billion. They are the equivalent of a corporate C-suite. Of the more than 3,000 captains who serve in the Navy, roughly 38--barely 1%--make the cut to admiraI each year.
In 2001 the chief of naval operations--the Navy' s CEO--asked retired Vice AdmiraI Phil Quast, who had spent 38 years in the Navy, to establish the program that became the Executive Learning Office. "Of 238 admiraI positions, fewer than 40 are concerned with actual war fighting," Quast notes. "The vast majority is doing jobs analogous to that of a CEO, CTO, CFO, COO or other functional business areas. Our job is to help them develop the business acumen they need to run the business of the Navy as excellent stewards of the public's money and its trust."
(Adapted from http://www.forbes.com)
Which is the best alternative considering some of the statements are true (T) and others are false (F)?
I - The American Navy has less than three hundred admiraIs.
II - Each AdmiraI is responsible for more than 390,000 members of the Navy.
III -The current leadership program is 38 years old.
IV - Most AdmiraIs are more like Company Executives nowadays.
V - About a quarter of U.S. AdmiraIs do jobs related to warfare.
The best alternative is:
 

Provas

Questão presente nas seguintes provas
238484 Ano: 2010
Disciplina: Inglês (Língua Inglesa)
Banca: Marinha
Orgão: Escola Naval
The turning tide for the turtles
With their exquisite shells, their smiling faces, their deliberate movements, and their amazing sea-born agility, sea turtles have always captured human imagination. Once severely endangered, turtle populations are growing steadily thanks to conservation projects worldwide. And with more than 8000 km of coastline, large stretches of which are favorite nesting spots for turtles, Brazil is one of the leaders in the race to protect them.
(Adapted from http//www.speakup.com.br)
Choose the only alternative which is correct.
 

Provas

Questão presente nas seguintes provas
238415 Ano: 2010
Disciplina: Inglês (Língua Inglesa)
Banca: Marinha
Orgão: Escola Naval
Which alternative completes the sentence correctly?
Put the loaves in the (1) and bake them till they go brown.
 

Provas

Questão presente nas seguintes provas
237276 Ano: 2010
Disciplina: Física
Banca: Marinha
Orgão: Escola Naval
Um pequeno bloco de massa m = 2,0 kg é lançado da posição A com velocidade de módulo igual a 4,0m/s. O trecho ABC do percurso, no plano vertical, possui atrito desprezível e o trecho CD, de comprimento igual a 1,0 m, possui atrito cujo coeficiente cinético é !$ 0,20 . \sqrt3 !$. Despreze a resistência do ar e considere a energia potencial gravitacional zero no nível BC. Após passar pela posição D, a máxima energia potencial gravitacional(em joules) atingida pelo bloco é
Dado: !$ |\vec{g}| = 10,0 m/s^2 !$
enunciado 237276-1
 

Provas

Questão presente nas seguintes provas
232677 Ano: 2010
Disciplina: Português
Banca: Marinha
Orgão: Escola Naval
O menino está fora da paisagem
O menino parado no sinal de trânsito vem em minha direção e pede esmola. Eu preferiria que ele não viesse. A miséria nos lembra de que a desgraça existe, e a morte também. Como quero esquecer a morte, prefiro não olhar o menino. Mas não me contenho e fico observando os movimentos do menino na rua. Sua paisagem é a mesma que a nossa: a esquina, os meios-fios, os postes. Mas ele se move em outro mapa, outro diagrama. Seus pontos de referência são outros.
Como não tem nada, pode ver tudo. Vive num grande playground, onde pode brincar com tudo, desde que "de fora". O menino de rua só pode brincar no espaço "entre" as coisas. Ele está fora do carro, fora da loja, fora do restaurante. A cidade é uma grande vitrine de impossibilidades. O menino-mendigo vê tudo de baixo. Está na altura dos cachorros, dos sapatos, das pernas expostas dos aleijados. O ponto de vista do menino de rua é muito aguçado, pois ele percebe tudo que lhe possa ser útil ou perigoso. Ele não gosta de ideias abstratas. Seu ponto de vista é o contrário do do intelectual: ele não vê o conjunto nem tira conclusões históricas só detalhes interessam. O conceito de tempo para ele é diferente do nosso. Não há segunda-feira, colégio, happy hour. Os momentos não se somam, não armazenam' memórias. Só coisas "importantes": "Está na hora de o português da lanchonete despejar o lixo ... " ou "Estão dormindo no meu caixote ... "
Se pudéssemos traçar uma linha reta de cada olhar do menino-mendigo, teríamos bilhões de linhas para o lado, para baixo, para cima, para dentro, para fora, teríamos um grande painel de imagens. E todas ao rés do chão: uma latinha, um riozinho na sarjeta, um palitinho de sorvete, um passarinho na árvore, uma pipa, um urubu circulando no céu. Ele é um espectador em 360 graus. O menino de rua é em Cinemascope. O mundo é todo seu, o filme é todo seu, só que não dá para entrar na tela. Ou seja, ele assiste a um filme "dentro" da ação. Só que não consta do elenco, ele é um penetra, é uma espécie de turista marginal. Visto de fora, seria melhor apagá-lo. Às vezes apagam.
Se não sentir fome ou dor, ele curte. Acha natural sair do útero da mãe e logo estar junto aos canos de descarga pedindo dinheiro. Ele se acha normal; nós é que ficamos anormais com a sua presença.
Antigamente não o víamos, mas ele sempre nos viu. Depois que começou o medo da violência, ele ficou mais visível. Ninguém fica insensível a ele. Mesmo em quem não o olha, ele nota um fremir quase imperceptível à sua presença. Ele percebe que provoca inquietação (medo, culpa, desgosto, ódio). Todos preferiam que ele não estivesse ali. Por quê? Ele não sabe.
Evitamos olhá-lo, mas ele tenta atrair nossa atenção, pois também quer ser desejado. Mas os olhares que recebe são fugidios, nervosos, de esguelha.
Vejo que o menino se aproxima de um grupo de mulheres com sacolas de lojas. Ele avança lentamente dando passos largos e batendo com uma varinha no chão. Abre-se um vazio de luz por onde ele passa, entre as mulheres - mães e filhas. É uma maneira de pertencer, de existir naquela família ali, mesmo que "de fora", como uma curiosidade. Assim, ele entra na família, um anti-irmãozinho que chega. As mães não têm como explicar aos filhos quem ele é, "por que" eles não são como "ele" (análise social) ou por que "ele" não é como nós (análise política). Porém, normalmente mães e pais evitam explicações, para não despertar uma curiosidade infantil que poderia descer até as bases da sociedade - que os pais não conhecem, mas que se lhes afigura como algo sagrado, em que não se deve mexer.
O menino de rua nos ameaça justamente pela fragilidade. Isso enlouquece as pessoas: têm medo do que atrai. Mais tarde ele vai crescer ... E aí?
O menino de rua tem mais coragem que seus lamentadores: ele não se acha símbolo de nada, nem prenúncio, nem ameaça. Está em casa, ali, na rua. Olhamos o pobrezinho parado no sinal fazendo um tristíssimo malabarismo com três bolinhas e sentimos culpa, pena, indignação. Então, ou damos uma esmola que nos absolva ou pensamos que um dia poderá nos assaltar.
Ele nos obriga ao raríssimo sentimento da solidariedade, que vai contra todos os hábitos de nossa vida egoísta de hoje. E não podemos reclamar dele. É tão pequeno... O mendigo velho, tudo bem, "Bebeu, vai ver a culpa é dele, não soube se organizar, é vagabundo". Tudo bem. Mas o mendigo-menino não nos desculpa, porque ele não tem piedade de si mesmo.
Todas as nossas melhores recordações costumam ser da infância. Saudades da aurora da vida. O menino de rua estraga nossas memórias. Ele estraga a aurora de nossas vidas. Por isso, tentamos ignorá-lo ou o exterminamos. Antes, todos fingiam que ele não existia. Depois das campanhas da fome, surgiram olhares novos. Já sabemos que ele é um absurdo dentro da sociedade e que de alguma forma a culpa é nossa.
Ele tem ao menos uma utilidade: estragando nossa paisagem presente, pode melhorar nosso futuro. O menino de rua denuncia o ridículo do pensamento "genérico-crítico" mostra-nos que uma crítica à injustiça tem de apontar soluções positivas. Ele nos ensina que a crítica e o lamento pelas contradições (como estou fazendo agora) só servem para nos "enobrecer" e "absolver". Para ele, nossos sentimentos não valem nada, e não valem mesmo. Mesmo não sabendo nada, ele sabe das coisas.
(Arnaldo Jabor. O Globo, Segundo Caderno, 14 abr. 2009, p.10)
Em qual opção está presente a ideia de incerteza?
 

Provas

Questão presente nas seguintes provas
231858 Ano: 2010
Disciplina: Física
Banca: Marinha
Orgão: Escola Naval
A figura abaixo mostra uma barra uniforme e homogênea de peso P e comprimento L, em repouso sobre uma superfície horizontal. A barra está apoiada, sem atrito, ao topo de uma coluna vertical de altura h, fazendo um ângulo de 30° com a vertical. Um bloco de peso P/2 está pendurado a uma distância L/3 da extremidade inferior da barra. Se a barra está na iminência de deslizar, a expressão do módulo da força de atrito entre a sua extremidade inferior e a superfície horizontal é
enunciado 231858-1
 

Provas

Questão presente nas seguintes provas
231567 Ano: 2010
Disciplina: Matemática
Banca: Marinha
Orgão: Escola Naval
Três cilindros circulares retos e iguais têm raio da base R, são tangentes entre si dois a dois e estão apoiados verticalmente sobre um plano. Se os cilindros têm altura H, então o volume do sólido compreendido entre os cilindros vale
 

Provas

Questão presente nas seguintes provas