Foram encontradas 106 questões.
Provas

Considerando a figura acima, que ilustra o ciclo termodinâmico de um sistema de refrigeração, no qual a amônia é utilizada como gás refrigerante, julgue os próximos itens.
Provas

Considerando a figura acima, que ilustra o ciclo termodinâmico de um sistema de refrigeração, no qual a amônia é utilizada como gás refrigerante, julgue os próximos itens.
Provas

Considerando a figura acima, que ilustra o ciclo termodinâmico de um sistema de refrigeração, no qual a amônia é utilizada como gás refrigerante, julgue os próximos itens.
Provas

Considerando a figura acima, que ilustra o ciclo termodinâmico de um sistema de refrigeração, no qual a amônia é utilizada como gás refrigerante, julgue os próximos itens.
Provas
Provas
Provas
Provas

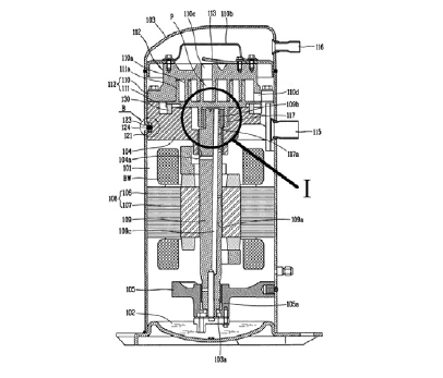
Considerando a figura acima, retirada de um catálogo técnico de um fabricante de compressores, julgue os itens de 98 a 101.
Provas

Considerando a figura acima, retirada de um catálogo técnico de um fabricante de compressores, julgue os itens de 98 a 101.
Provas
Caderno Container