Foram encontradas 106 questões.

O gráfico acima mostra a associação de duas bombas radiais iguais em paralelo. Considerando a curva característica da bomba A e a curva característica do sistema S, em que H é a altura manométrica e Q a vazão, julgue os itens a seguir.
Provas

O gráfico acima mostra a associação de duas bombas radiais iguais em paralelo. Considerando a curva característica da bomba A e a curva característica do sistema S, em que H é a altura manométrica e Q a vazão, julgue os itens a seguir.
Provas

O gráfico acima mostra a associação de duas bombas radiais iguais em paralelo. Considerando a curva característica da bomba A e a curva característica do sistema S, em que H é a altura manométrica e Q a vazão, julgue os itens a seguir.
Provas

O gráfico acima mostra a associação de duas bombas radiais iguais em paralelo. Considerando a curva característica da bomba A e a curva característica do sistema S, em que H é a altura manométrica e Q a vazão, julgue os itens a seguir.
Provas

O gráfico acima mostra a associação de duas bombas radiais iguais em paralelo. Considerando a curva característica da bomba A e a curva característica do sistema S, em que H é a altura manométrica e Q a vazão, julgue os itens a seguir.
Provas
Provas
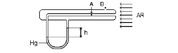
A figura abaixo ilustra o tubo Venturi, que permite determinar o módulo do volume escoado de um líquido no interior de uma tubulação. Esse dispositivo é constituído por um tubo em U com mercúrio (tubo manométrico), com um ramo ligado a um segmento normal da tubulação e o outro ligado a um segmento com um estrangulamento.

Provas
Disciplina: Atualidades e Conhecimentos Gerais
Banca: CESPE / CEBRASPE
Orgão: FUB
Provas
Disciplina: Atualidades e Conhecimentos Gerais
Banca: CESPE / CEBRASPE
Orgão: FUB
Provas
Disciplina: Atualidades e Conhecimentos Gerais
Banca: CESPE / CEBRASPE
Orgão: FUB
Provas
Caderno Container