Foram encontradas 120 questões.
557084
Ano: 2015
Disciplina: Ética na Administração Pública
Banca: CESPE / CEBRASPE
Orgão: FUB
Disciplina: Ética na Administração Pública
Banca: CESPE / CEBRASPE
Orgão: FUB
Provas:
No que diz respeito aos atos de improbidade administrativa, julgue o item a seguir.
O servidor indiciado, uma vez julgado e punido na esfera penal, também poderá sofrer as cominações da lei de improbidade administrativa.
Provas
Questão presente nas seguintes provas

O circuito mostrado na figura II corresponde à configuração base comum.
Provas
Questão presente nas seguintes provas

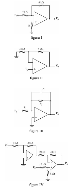
O ganho de tensão do amplificador representado no circuito da figura I é unitário, porém o ganho de corrente desse circuito é alto e próximo ao valor do parâmetro hfe do transistor.
Provas
Questão presente nas seguintes provas

No circuito representado na figura I, quanto menor for o capacitor conectado na base do transistor, menor será a frequência de corte inferior do circuito.
Provas
Questão presente nas seguintes provas

O circuito representado na figura I mostra um amplificador na configuração emissor comum.
Provas
Questão presente nas seguintes provas

No circuito mostrado na figura II, o ganho de corrente é unitário, entretanto o ganho de tensão é superior a 1.
Provas
Questão presente nas seguintes provas

No circuito da figura I, a impedância de entrada vista pela fonte de sinal é maior que 1,5 kΩ.
Provas
Questão presente nas seguintes provas

No circuito da figura I, para que os efeitos das correntes de polarização do amplificador operacional sejam balanceados, a resistência do resistor R deve ser superior a 6 kΩ.
Provas
Questão presente nas seguintes provas

O ganho A = vo/vi no amplificador ilustrado na figura I é igual a -6.
Provas
Questão presente nas seguintes provas

O circuito da figura III é um exemplo de filtro passa-alta, e quanto maior for o valor do capacitor, maior será a frequência de corte do filtro.
Provas
Questão presente nas seguintes provas
Cadernos
Caderno Container