Foram encontradas 50 questões.
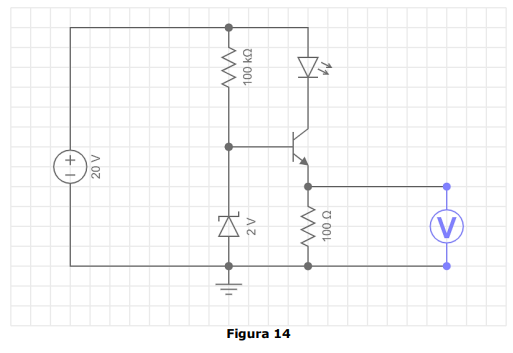
Observe o circuito da Figura 14, que exibe um regulador de tensão corrente constante:

Com base no funcionamento do circuito, determine o valor aproximado da leitura do voltímetro.
Provas

Provas

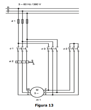
Com base nas informações da placa, determine qual é a corrente de sobrecarga quando o motor estiver trabalhando em rede de 60Hz e fase 220.
Provas
I. Classe A: fogo em materiais combustíveis sólidos, que queimam em superfície e profundidade através do processo de pirólise, deixando resíduos. II. Classe B: fogo em combustíveis sólidos que se liquefazem por ação do calor, como graxas, substâncias líquidas que evaporam e gases inflamáveis, que queimam somente em superfície, podendo ou não deixar resíduos. III. Classe C: fogo em materiais plásticos, polipropileno e parafinas.
Quais estão corretas?
Provas

Provas

Provas
Analise as assertivas abaixo sobre os esquemas de aterramento de instalações elétricas de BT:
I. No esquema de aterramento TN-S, o condutor de terra e o condutor de neutro são distintos, enquanto no esquema de aterramento TN-C-S, o condutor de neutro e terra estão combinados em um único condutor em uma parte do sistema.
II. No esquema de aterramento TN-C, o condutor de terra e neutro estão combinados em um único condutor.
III. No esquema de aterramento T-T, o condutor de neutro está aterrado independente do aterramento da massa.
Quais estão corretas?
Provas
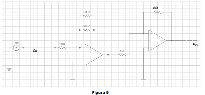
Observe a Figura 9 abaixo e determine o valor de Rf2 para que o ganho do circuito seja de 30dB.

Provas
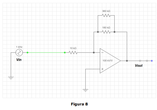
Sabendo que a tensão de entrada no circuito da Figura 8 é Vin = 1V (Vp) ou 2V (Vpp), a saída Vout será:

Provas
Provas
Caderno Container