Foram encontradas 50 questões.
Em relação aos modos de transferência de calor, é
INCORRETO afirmar que
Provas
Questão presente nas seguintes provas
Um cubo de carvalho com aresta de 1m e densidade
é de 750 kg/m3
é mantido submerso em água por um
tirante, conforme figura a seguir. A face superior do
cubo está a uma profundidade de 3m, considerando
a densidade da água de 1000 kg/m3
e a aceleração da
gravidade de 10 m/s2
.
A parti r dos conceitos fundamentais de estática dos fluidos, a sequência que apresenta corretamente os valores referentes ao empuxo e à força de tração no tirante, respectivamente, é:
A parti r dos conceitos fundamentais de estática dos fluidos, a sequência que apresenta corretamente os valores referentes ao empuxo e à força de tração no tirante, respectivamente, é:
Provas
Questão presente nas seguintes provas
Conforme figura a seguir, considere uma parede cuja
seção transversal tenha 10 cm de espessura, a temperatura na face interna seja de 138°C e a temperatura externa, de 58°C. A parede tem um comprimento
de 5 metros e altura de 3 metros. Sua condutividade
térmica é de 0,3 W/(m.K).
É correto afirmar que o fluxo de calor, em W/m² e, a taxa de transferência de calor, em kW através da seção transversal da parede ambos, são, respectivamente,
É correto afirmar que o fluxo de calor, em W/m² e, a taxa de transferência de calor, em kW através da seção transversal da parede ambos, são, respectivamente,
Provas
Questão presente nas seguintes provas
Preencha corretamente as lacunas do texto sobre a
mecânica dos fluídos.
A equação de _________________ é provavelmente a equação mais famosa e usada em toda a mecânica dos fluidos. Ela é sempre atraente para ser usada, pois é uma simples equação algébrica que relaciona as variações de pressão com aquelas de velocidade e de _________________ em um fluido. A equação de Bernoulli aborda a conservação da energia mecânica para escoamentos, onde a _________________do fluido é desconsiderada.
A sequência que preenche corretamente as lacunas do texto é:
A equação de _________________ é provavelmente a equação mais famosa e usada em toda a mecânica dos fluidos. Ela é sempre atraente para ser usada, pois é uma simples equação algébrica que relaciona as variações de pressão com aquelas de velocidade e de _________________ em um fluido. A equação de Bernoulli aborda a conservação da energia mecânica para escoamentos, onde a _________________do fluido é desconsiderada.
A sequência que preenche corretamente as lacunas do texto é:
Provas
Questão presente nas seguintes provas
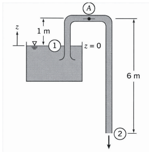
Um tubo em U atua como um cifão d’água. A curvatura do tubo está a 1 m acima da superfície da água (1)
e a saída do tubo (2) está a 5 m abaixo da superfície
da água, conforme figura a seguir. A água sai como
jato livre para a atmosfera na extremidade inferior do
cifão (2). Considere a aceleração da gravidade igual
a 10 m/s2
.
Nesse sentido, é correto afirmar que a velocidade, em m/s, do jato livre na saída do cifão (2) é
Nesse sentido, é correto afirmar que a velocidade, em m/s, do jato livre na saída do cifão (2) é
Provas
Questão presente nas seguintes provas
A crescente demanda por energia no mundo, sobretudo a renovável, tem levado muitos países a reexaminar suas políticas energéticas e a tomar medidas
drásticas para aumentar a eficiência global dos sistemas de geração de energia. A primeira lei da termodinâmica trata da quantidade de energia e afirma que a
energia não pode ser criada nem destruída. A segunda lei da termodinâmica trata da qualidade da energia, mais especificamente da degradação da energia
durante um processo.
A esse respeito, é INCORRETO afirmar que(,)
A esse respeito, é INCORRETO afirmar que(,)
Provas
Questão presente nas seguintes provas
A figura mostra um gráfico de altura manométrica (H)
por vazão (Q) de uma instalação de elevação de água.
São mostradas a curva do sistema (S), uma variação
dessa mesma curva (S’), a curva da bomba (B) e uma
variação dessa mesma curva (B’).
Com base nessa figura, informe se é verdadeiro (V) ou falso (F) o que se afirma.
( ) Dada uma mesma curva S, o deslocamento da curva da bomba (B e B’) pode estar relacionada com o aumento da perda de carga.
( ) Dada uma mesma curva S, o deslocamento da curva da bomba (B e B’) pode estar relacionada com a mudança do rotor da bomba.
( ) Dada uma mesma curva B, o deslocamento da curva do sistema (S e S’) pode estar relacionado com a adoção de uma bomba de maior potência.
De acordo com as afi rmações, a sequência correta é:
Com base nessa figura, informe se é verdadeiro (V) ou falso (F) o que se afirma.
( ) Dada uma mesma curva S, o deslocamento da curva da bomba (B e B’) pode estar relacionada com o aumento da perda de carga.
( ) Dada uma mesma curva S, o deslocamento da curva da bomba (B e B’) pode estar relacionada com a mudança do rotor da bomba.
( ) Dada uma mesma curva B, o deslocamento da curva do sistema (S e S’) pode estar relacionado com a adoção de uma bomba de maior potência.
De acordo com as afi rmações, a sequência correta é:
Provas
Questão presente nas seguintes provas
Avalie o que se afirma em relação à segunda lei da
termodinâmica, propriedades e processos.
I- A entropia é dada pela soma da energia interna com o produto da pressão pelo volume específico (s = u + pv).
II- O estado termodinâmico de uma substância pura é definido quando se conhecem duas propriedades termodinâmicas intensivas e independentes da substância.
III- Pressão, temperatura, entalpia, massa e calor são propriedades que podem ser usadas para definir o estado de um sistema.
IV- O peso específico é obtido pelo produto da densidade pela aceleração gravitacional.
V- As propriedades podem ser classificadas como intensivas ou extensivas; as propriedades intensivas são independentes da massa, como temperatura, pressão, densidade e entropia.
Está correto apenas o que se afirma em
I- A entropia é dada pela soma da energia interna com o produto da pressão pelo volume específico (s = u + pv).
II- O estado termodinâmico de uma substância pura é definido quando se conhecem duas propriedades termodinâmicas intensivas e independentes da substância.
III- Pressão, temperatura, entalpia, massa e calor são propriedades que podem ser usadas para definir o estado de um sistema.
IV- O peso específico é obtido pelo produto da densidade pela aceleração gravitacional.
V- As propriedades podem ser classificadas como intensivas ou extensivas; as propriedades intensivas são independentes da massa, como temperatura, pressão, densidade e entropia.
Está correto apenas o que se afirma em
Provas
Questão presente nas seguintes provas
Avalie o que se afirma sobre a Termodinâmica.
I- Quando qualquer propriedade de um sistema é alterada, ocorre uma mudança de estado.
II- Temperatura é uma propriedade intensiva.
III- O calor é uma propriedade usada na equação da primeira lei da termodinâmica para cálculo da conservação da energia.
IV- A transferência de calor por condução ocorre apenas em sólidos e líquidos, não ocorrendo nos gases.
V- A energia interna é uma propriedade extensiva do sistema.
VI- A definição termodinâmica de trabalho é: um sistema realiza trabalhos sobre sua vizinhança, se o único efeito sobre tudo aquilo externo ao sistema puder ser a elevação da temperatura de um gás.
Está correto apenas o que se afirma em
I- Quando qualquer propriedade de um sistema é alterada, ocorre uma mudança de estado.
II- Temperatura é uma propriedade intensiva.
III- O calor é uma propriedade usada na equação da primeira lei da termodinâmica para cálculo da conservação da energia.
IV- A transferência de calor por condução ocorre apenas em sólidos e líquidos, não ocorrendo nos gases.
V- A energia interna é uma propriedade extensiva do sistema.
VI- A definição termodinâmica de trabalho é: um sistema realiza trabalhos sobre sua vizinhança, se o único efeito sobre tudo aquilo externo ao sistema puder ser a elevação da temperatura de um gás.
Está correto apenas o que se afirma em
Provas
Questão presente nas seguintes provas
Informe se é verdadeiro (V) ou falso (F) o que se afirma
sobre a Termodinâmica.
( ) A força de empuxo tem magnitude igual ao volume do líquido deslocado, ocorrendo quando um corpo está totalmente ou parcialmente submerso em um líquido.
( ) Considere um gás em um conjunto cilindro-pistão, conforme figura a seguir. Quando as válvulas estão fechadas, podemos considerar o gás como um sistema fechado. Como a fronteira, indicada pela linha pontilhada, entre o gás e o pistão se move, o volume do sistema varia.
( ) Durante um processo de vaporização, uma substância existe parte como líquido e parte como vapor. Para analisar essa mistura adequadamente é preciso conhecer as proporções das fases líquido e vapor da mistura. Isso é feito definindo uma propriedade chamada de título (x). O valor do título (x) varia de zero a unidade. Para estado de vapor saturado, tem-se x =0.
( ) Quando o sistema encontra-se em estado de líquido saturado, uma transferência de calor adicional à pressão constante resulta na formação de vapor, sem qualquer mudança de temperatura, mas com um considerável aumento do volume específico.
( ) Nos processos em regime permanente, as propriedades do fluido não podem mudar de um ponto para outro dentro do volume de controle.
De acordo com as afirmações, a sequência correta é:
( ) A força de empuxo tem magnitude igual ao volume do líquido deslocado, ocorrendo quando um corpo está totalmente ou parcialmente submerso em um líquido.
( ) Considere um gás em um conjunto cilindro-pistão, conforme figura a seguir. Quando as válvulas estão fechadas, podemos considerar o gás como um sistema fechado. Como a fronteira, indicada pela linha pontilhada, entre o gás e o pistão se move, o volume do sistema varia.
( ) Durante um processo de vaporização, uma substância existe parte como líquido e parte como vapor. Para analisar essa mistura adequadamente é preciso conhecer as proporções das fases líquido e vapor da mistura. Isso é feito definindo uma propriedade chamada de título (x). O valor do título (x) varia de zero a unidade. Para estado de vapor saturado, tem-se x =0.
( ) Quando o sistema encontra-se em estado de líquido saturado, uma transferência de calor adicional à pressão constante resulta na formação de vapor, sem qualquer mudança de temperatura, mas com um considerável aumento do volume específico.
( ) Nos processos em regime permanente, as propriedades do fluido não podem mudar de um ponto para outro dentro do volume de controle.
De acordo com as afirmações, a sequência correta é:
Provas
Questão presente nas seguintes provas
Cadernos
Caderno Container