Foram encontradas 50 questões.
Um LED é ligado a um pino de saída PWM
do Arduino Uno. Deseja-se ajustar seu brilho para,
aproximadamente, 25% da intensidade total, utilizando um ciclo de trabalho (duty cycle) de 25%.
Considerando que a resolução do PWM é de 8 bits,
qual valor inteiro deve ser passado como parâmetro
de valor para a função analogWrite(pino, valor)?
Provas
Questão presente nas seguintes provas
Considere a expressão de um circuito lógico combinacional apresentado a seguir:
![]()
Com base nessa expressão podemos afirmar que a:
Provas
Questão presente nas seguintes provas
A integração de energia solar fotovoltaica e
energia eólica ao sistema elétrico apresenta desafios para o controle operacional de geração e transmissão de energia. Qual dos fatores abaixo mais
afeta a estabilidade da rede quando se utiliza grande quantidade de fontes renováveis intermitentes?
Provas
Questão presente nas seguintes provas
Um motor de passo é amplamente utilizado
em sistemas de automação e robótica por permitir
controle preciso de movimento. Sobre o funcionamento desse tipo de motor, é correto afirmar que:
Provas
Questão presente nas seguintes provas
Em um circuito de comando elétrico de um motor trifásico estão presentes: botão Start (liga), botão
Stop (desliga), contator com contato auxiliar de retenção, relé térmico e lâmpada indicadora de funcionamento. Qual é a função do relé térmico no circuito?
Provas
Questão presente nas seguintes provas
Um transformador é um dispositivo elétrico que altera os níveis de tensão de uma corrente alternada
(CA) sem mudar a frequência. Qual das alternativas abaixo descreve corretamente o princípio de funcionamento do transformador?
Provas
Questão presente nas seguintes provas
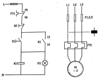
Em se tratando de motores e comandos elétricos, um dos momentos mais críticos é a partida, pois é
nesse instante que o motor elétrico requisita uma corrente muito maior do que a sua corrente nominal para
vencer o estado de inércia. A depender das condições de partida, esse pico de corrente pode, inclusive, disparar os dispositivos de proteção do circuito. Por isso, é muito importante conhecer e saber dimensionar os
dispositivos de proteção. A figura a seguir, ilustra um circuito de força e de comando de uma partida direta
de um motor trifásico:
Franchi, Claiton Moro. Acionamentos Elétricos. São Paulo: Érica, 5. ed. 2014.
Sabendo que o relé térmico representado se trata de um relé de classe 20 e considerando os demais dispositivos de proteção da figura, assinale a única alternativa correta:
Franchi, Claiton Moro. Acionamentos Elétricos. São Paulo: Érica, 5. ed. 2014.
Sabendo que o relé térmico representado se trata de um relé de classe 20 e considerando os demais dispositivos de proteção da figura, assinale a única alternativa correta:
Provas
Questão presente nas seguintes provas
Durante uma aula prática de Circuitos Elétricos, foi pedido aos alunos que verifi cassem as
tensões e correntes em um resistor de 220 Ω conectado a uma fonte de 9 V. O aluno João utilizou
o multímetro digital em diferentes modos de medição, conforme descrito a seguir:
Situação 1: multímetro confi gurado para medir tensão contínua, ligado em paralelo ao resistor.
Situação 2: multímetro confi gurado para medir corrente contínua, ligado em série com o resistor. Situação 3: multímetro confi gurado para medir corrente contínua, ligado em paralelo com o resistor.
Com base nessas situações, assinale a alternativa que indica corretamente o comportamento esperado do multímetro e do circuito em cada caso.
Situação 1: multímetro confi gurado para medir tensão contínua, ligado em paralelo ao resistor.
Situação 2: multímetro confi gurado para medir corrente contínua, ligado em série com o resistor. Situação 3: multímetro confi gurado para medir corrente contínua, ligado em paralelo com o resistor.
Com base nessas situações, assinale a alternativa que indica corretamente o comportamento esperado do multímetro e do circuito em cada caso.
Provas
Questão presente nas seguintes provas
Em um centro de usinagem CNC, padrão
FANUC, foi desenvolvido o programa a seguir:
Observa-se a omissão de um comando essencial na linha N50, que é crítico para garantir a correta profundidade da furação em Z. Qual comando e parâmetro deveriam ser inseridos em N50 para que o programa funcione corretamente?
Fonte: IFSP, 2025.
Observa-se a omissão de um comando essencial na linha N50, que é crítico para garantir a correta profundidade da furação em Z. Qual comando e parâmetro deveriam ser inseridos em N50 para que o programa funcione corretamente?
Fonte: IFSP, 2025.
Provas
Questão presente nas seguintes provas
Os Controladores Lógicos Programáveis
(CLPs) são amplamente utilizados na automação
industrial por substituírem sistemas de comando
baseados em relés.
Considerando sua aplicação em circuitos de comando elétrico, assinale a alternativa correta:
Considerando sua aplicação em circuitos de comando elétrico, assinale a alternativa correta:
Provas
Questão presente nas seguintes provas
Cadernos
Caderno Container