Foram encontradas 40 questões.
Um bloco é representado através de três vistas ortográficas (1° diedro) e de uma perspectiva. Os vértices das vistas estão numerados e as faces A, B e C do sólido estão identificadas na perspectiva.

A perspectiva mostra a forma do sólido de imediato, porém as vistas ortográficas requerem uma leitura para que possam ser interpretadas.
Observe as faces indicadas na perspectiva e busque nas vistas as três projeções de cada face.
Preencha a tabela abaixo e, após, marque a opção que enumera corretamente as três vistas de cada face.
| Face | Vista Frontal (VF) | Vista Superior (VS) | Vista Lat. Esq. (VLE) |
| A | |||
| B | |||
| C |
A opção que enumera corretamente as projeções da face A é
Provas
Questão presente nas seguintes provas
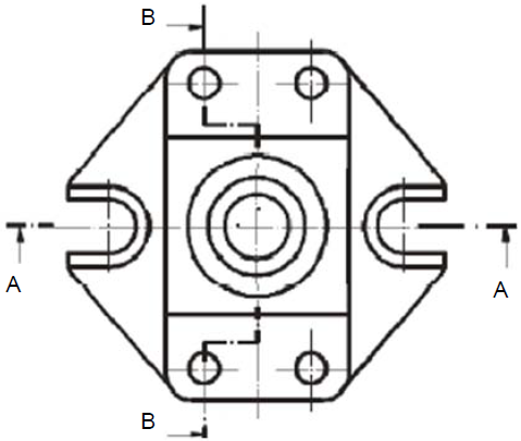
Observe a vista superior abaixo.
Nela estão indicados os cortes AA e BB.

A vista ortográfica abaixo representa o corte _____, que é um corte _____

A vista ortográfica abaixo representa o corte _____, que é um corte _____

Assinale a alternativa que preenche corretamente as lacunas das frases acima, na ordem em que aparecem.
Provas
Questão presente nas seguintes provas
Observe as representações abaixo que são permitidas pela NBR 6492/1994 de Desenho Arquitetônico.



O nome destas representações, em ordem numérica, é
Provas
Questão presente nas seguintes provas
Em um desenho técnico foi usada a largura de 1,0 mm para as linhas mais largas.
É correto afirmar que o espaçamento mínimo entre linhas paralelas não deve ser menor que
Provas
Questão presente nas seguintes provas
Um bloco é representado através de três vistas ortográficas (1° diedro) e de uma perspectiva. Os vértices das vistas estão numerados e as faces A, B e C do sólido estão identificadas na perspectiva.

A perspectiva mostra a forma do sólido de imediato, porém as vistas ortográficas requerem uma leitura para que possam ser interpretadas.
Observe as faces indicadas na perspectiva e busque nas vistas as três projeções de cada face.
Preencha a tabela abaixo e, após, marque a opção que enumera corretamente as três vistas de cada face.
| Face | Vista Frontal (VF) | Vista Superior (VS) | Vista Lat. Esq. (VLE) |
| A | |||
| B | |||
| C |
A opção que enumera corretamente as projeções da face C é
Provas
Questão presente nas seguintes provas
Observe os oito cubos numerados abaixo.
Eles estão representados em Perspectiva Isométrica (P.I.) e em Perspectiva Cavaleira à 45° (P.C.), de maneira a mostrar em destaque, algumas posições.

Identifique, de maneira adequada, a perspectiva utilizada e a posição em destaque de cada um e preencha com o número correto os parênteses abaixo.
( ) P.I. – mostra o cubo de cima.
( ) P.I. – mostra o cubo de baixo.
( ) P.I. – mostra o cubo do lado direito.
( ) P.I. – mostra o cubo do lado esquerdo.
( ) P.C. – mostra o cubo de cima e do lado direito.
( ) P.C. – mostra o cubo de cima e do lado esquerdo.
( ) P.C. – mostra o cubo de baixo e do lado direito.
( ) P.C. – mostra o cubo de baixo e do lado esquerdo.
A seqüência correta de preenchimento dos parênteses, de cima para baixo, é
Provas
Questão presente nas seguintes provas
Observe abaixo, as quatro alternativas de posição relativa das vistas de um prisma retangular.
Considere V S para vista superior, V F para a vista frontal e L E para vista lateral esquerda.

A alternativa correta das vistas no 3° diedro é
Provas
Questão presente nas seguintes provas
A coluna da esquerda, abaixo, nomeia cinco tipos de linhas; a da direita apresenta, em outra ordem, oito aplicações destes tipos de linhas.
Associe adequadamente a coluna da direita à da esquerda.
1. Contínua larga
2. Contínua estreita
3. Tracejada larga ou estreita
4. Traço e ponto estreita
5. Contínua estreita à mão livre
( ) contornos e arestas não visíveis
( ) contornos e arestas visíveis
( ) linhas de cota
( ) linhas auxiliares
( ) limites de vistas ou cortes parciais
( ) linhas de chamada
( ) linhas de simetria
( ) hachuras
A seqüência correta de preenchimento dos parênteses, de cima para baixo, é
Provas
Questão presente nas seguintes provas
O desenho apresentado na figura abaixo mostra as vistas frontal e superior de um sólido com algumas representações, permitidas pela ABNT.

É correto afirmar que, no desenho, foram empregadas as seguintes representações:
Provas
Questão presente nas seguintes provas
Um desenhista pretende fazer um desenho técnico e, para isso, precisa escolher uma largura para as linhas largas e outra largura para as linhas estreitas. As escolhas feitas por ele para as linhas largas e estreitas são, respectivamente,
I. 1,0 mm e 0,35 mm.
II. 0,7 mm e 0,5 mm.
III. 0,5 mm e 0,25 mm.
Quais das escolhas podem ser utilizadas por ele?
Provas
Questão presente nas seguintes provas
Cadernos
Caderno Container