Foram encontradas 50 questões.
Texto para responder à questão.
O freio de fita mostrado na figura consiste de uma correia que é apertada contra um volante que gira no sentido horário, freando seu movimento de rotação por atrito seco. A haste de comprimento (\( L_1 \) + \( L_2 \)) é rotulada em \( C \) e, sobre a sua outra extremidade, em E, é aplicada uma força \( F \).

Denominando as forças nas extremidades da correia respectivamente de \( TA \) e de \( TD \), assinale a alternativa correta.
Provas
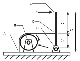
Texto para responder à questão.
O freio de fita mostrado na figura consiste de uma correia que é apertada contra um volante que gira no sentido horário, freando seu movimento de rotação por atrito seco. A haste de comprimento (\( L_1 \) + \( L_2 \)) é rotulada em \( C \) e, sobre a sua outra extremidade, em E, é aplicada uma força \( F \).

Considerando \( μ \) o coeficiente de atrito entre a correia e o volante e chamando as forças nas extremidades da correia respectivamente de \( T_A \) e de \( T_D \), assinale a alternativa correta.
Provas
Texto para responder à questão

O disco 1 de massa \( m_1 \), raio \( R_1 \) e momento de inércia \( I_1 \) gira com velocidade angular \( ω_1 \) em torno do eixo mostrado na figura, apoiado sobre um mancal sem atrito. O disco 2, de massa \( m_2 \), raio \( R_2 \) e momento de inércia \( I_2 \), inicialmente em repouso, é solto sobre o disco 1. Considere que um eixo não mostrado na figura assegura o alinhamento entre os dois discos e que o coeficiente de atrito entre os dois discos \( μ \) é positivo.
Com base no texto, assinale a alternativa correta.
Provas
Texto para responder à questão

O disco 1 de massa \( m_1 \), raio \( R_1 \) e momento de inércia \( I_1 \) gira com velocidade angular \( ω_1 \) em torno do eixo mostrado na figura, apoiado sobre um mancal sem atrito. O disco 2, de massa \( m_2 \), raio \( R_2 \) e momento de inércia \( I_2 \), inicialmente em repouso, é solto sobre o disco 1. Considere que um eixo não mostrado na figura assegura o alinhamento entre os dois discos e que o coeficiente de atrito entre os dois discos \( μ \) é positivo.
Supondo que os discos atinjam uma velocidade final comum \( ω \)final, assinale a alternativa correta.
Provas
Uma comporta é construída a partir de vários troncos cilíndricos de 0,20 m de diâmetro e 3,0 m de comprimento superpostos na horizontal formando uma parede. Os troncos têm suas extremidades simplesmente apoiadas e são impermeabilizados em conjunto, tornando a parede impermeável. Sabendo-se que a altura da água a montante é de 8,1 m, que não existe água a jusante da comporta e que a aceleração da gravidade local é de 10 m/s2, assinale a alternativa correta.
Provas
A curva da banheira é o nome dado a um gráfico utilizado em análise de equipamentos e seu histórico de manutenção. A respeito dessa curva, assinale a alternativa correta.
Provas
O macaco hidráulico esquematizado na figura é constituído de dois pistões e de um duto de pressão que os liga. Sabendo-se que os três elementos têm seções de área \( S_A \), \( S_B \), \( S_C \), respectivamente, e que \( F_1 \) e \( F_2 \) são as forças aplicadas em \( A \) e em \( B \), assinale a alternativa correta

Provas
Acerca da manutenção de uma máquina ou de um equipamento, assinale a alternativa correta.
Provas
O risco de falha de uma máquina por desbalanceamento é de 10–3. O risco de falha da mesma máquina por desalinhamento é duas vezes maior. Nesse caso, é correto afirmar que, por qualquer umas das causas,
Provas
Uma bomba hidráulica é acionada por um motor elétrico em uma montagem feita por meio de um acoplamento elástico. Considerando \( n_1 \) o rendimento da bomba, \( n_2 \) o rendimento do motor, \( n_3 \) o rendimento do acoplamento elástico entre a bomba e o motor, \( P \) a pressão de recalque da bomba, \( Q \) a sua vazão, \( ω \) a rotação do motor e \( T \) o conjugado aplicado sobre seu eixo, assinale a alternativa correta.
Provas
Caderno Container