Foram encontradas 46 questões.
A prática das atividades industriais prevê três abordagens básicas para a manutenção: corretiva, preventiva e preditiva, as quais são empregadas em conjunto segundo o plano de manutenção da empresa.
A manutenção preditiva consiste em:
Provas
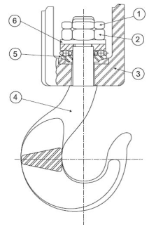
Analise a figura a seguir, que representa um conjunto de um gancho.

Nesse desenho, a peça número 5 é um rolamento:
Provas
Provas
A propriedade de um óleo lubrificante de resistir às mudanças de temperaturas pode ser expressa como um número, empírico, conhecido como índice de viscosidade (IV).
Assim, quanto:
Provas
Um parafuso com diâmetro nominal de 45 mm tem rosca com perfil trapezoidal, de passo 3 mm e duas entradas.
Quantos milímetros o parafuso avança em uma volta completa ao ser rosqueado em uma porca fixa?
Provas
Na figura a seguir, é mostrado um paquímetro para medidas em polegadas fracionárias e um paquímetro para medidas em milímetros, respectivamente.

As leituras apresentadas pelos instrumentos A e B são, respectivamente:
Provas
O cabo de aço 8 x 19 + AF Seale 1 + 9 + 9 é usado para tração em elevadores de passageiros.
O tipo de alma, o número de pernas e o número de arames em cada perna são, respectivamente:
Provas
A transmissão por correia, representada a seguir, é composta por uma polia motora d1 = 150 mm e por uma polia movida d2 = 250 mm. A transmissão é acionada por uma força tangente Ft = 700 N, como apresentado a seguir.

Nesse caso, pode-se afirmar que a razão entre os torques da polia motora e da polia movida é:
Provas
Com relação aos instrumentos de medição, analise as afirmativas a seguir:
I. Para determinar a resolução de um micrômetro, deve-se dividir o seu passo pelo dobro do número de divisões de seu tambor.
II. A resolução de um instrumento de medição que possui nônio é calculada dividindo-se a menor divisão da escala de medida pelo número de divisões do nônio.
III. O goniômetro é um instrumento de medição ou verificação de medidas angulares.
Estão corretas as afirmativas:
Provas
Provas
Caderno Container