Foram encontradas 60 questões.
Uma estrutura será construída em aço carbono, sendo disponíveis para esta construção os seguintes aços:
Para uma barra com área de seção transversal de 500 milímetros quadrados ( ), verifique qual dos materiais resistirá aos esforços de tração devido a uma carga de 100kN sem apresentar deformação plástica. É então correto afirmar que:
Provas
Questão presente nas seguintes provas
Na seleção de materiais a serem utilizados na fabricação de molas uma característica a ser considerada (mas não a única!) é a capacidade do material armazenar energia quando deformado elasticamente e liberá-la quando descarregado.
Observe os materiais apresentados na tabela a seguir:

Dentre os materiais apresentados, o que apresenta maior capacidade de armazenar energia elástica de deformação é o:
Provas
Questão presente nas seguintes provas
A respeito do fenômeno de cavitação, é correto afirmar que:
Provas
Questão presente nas seguintes provas
Uma chaveta de aço será utilizada para a transmissão do momento de torção entre um eixo com 20 milímetros de diâmetro e uma polia. A seção transversal da chaveta é padronizada em função do diâmetro do eixo em 6 milímetros de espessura por 6 milímetros de altura. O comprimento da chaveta necessário para suportar o cisalhamento devido a um momento de torção de 90 N.m, supondo uma tensão de cisalhamento admissível de 60 MPa, é de:
Provas
Questão presente nas seguintes provas
Uma chapa de aço inoxidável com 20 milímetros de espessura, tem uma de suas faces em contato com um líquido a uma temperatura de e na outra face foi medida uma temperatura de . Supondo a condutividade térmica do aço inoxidável constante e igual a , o fluxo de calor através da chapa é igual a:
Provas
Questão presente nas seguintes provas
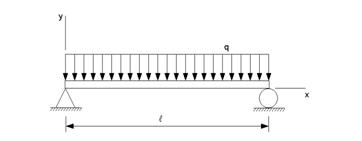
Observe o esquema a seguir:

De forma qualitativa, o diagrama de momento fletor da viga biapoiada, sob carregamento uniformemente distribuído é:
Provas
Questão presente nas seguintes provas

![]()
Provas
Questão presente nas seguintes provas
Quantidades de A e B são alimentadas num tanque a 250 C de forma a apresentar duas fases líquidas e uma fase vapor. Sabendo-se que as pressões de vapor dos componentes puros a 250 C são iguais a e , que a fase gasosa se comporta como gás ideal e que os componentes A e B são completamente imiscíveis na fase líquida, a pressão de equilíbrio dentro do tanque, em bar, é igual a:
Provas
Questão presente nas seguintes provas
Para que uma corrente aquosa com vazão de 10 L/s, com uma concentração de ácido sulfúrico igual a 0,01 N seja neutralizada por uma corrente de hidróxido de sódio, 0,004 N, a vazão desta, em L/s, deve ser igual a:
Provas
Questão presente nas seguintes provas
Uma caldeira realiza combustão completa de metano puro. Sabendo-se que existe a utilização de 25% de oxigênio em relação ao valor estequiométrico e que este é proveniente do ar (20% de oxigênio e 80% de nitrogênio, em base molar). A quantidade de ar, em gmols, utilizada para a queima de cada 100 gmols de metano é:
Provas
Questão presente nas seguintes provas
Cadernos
Caderno Container