Foram encontradas 40 questões.
O pilar da figura a seguir tem seção transversal maciça circular de diâmetro 4 cm e é composto por aço com módulo de Young de 200 GPa. Além disso, o apoio A é do 1º gênero, enquanto o apoio B é do 2º gênero.

A carga crítica de flambagem desse pilar, assumindo π = 3,0, é:
Provas
A figura a seguir apresenta uma laje maciça de concreto armado e uma tabela indicando bitolas de barras para armaduras de concreto armado e suas respectivas áreas.

(Dimensões em cm)
| Barra (mm) | Área da seção transversal (cm2) |
|---|---|
| 5,0 | 0,25 |
| 6,3 | 0,30 |
| 8,0 | 0,50 |
Sabendo que essa laje será armada com armadura mínima nas duas direções, o número total de barras para compor sua armadura positiva, de modo a consumir a menor quantidade de aço e considerando recuo nas extremidades, é:
Provas
A figura a seguir apresenta parte da instalação elétrica de uma residência unifamiliar localizada em uma rede 127V / 220V.

Provas
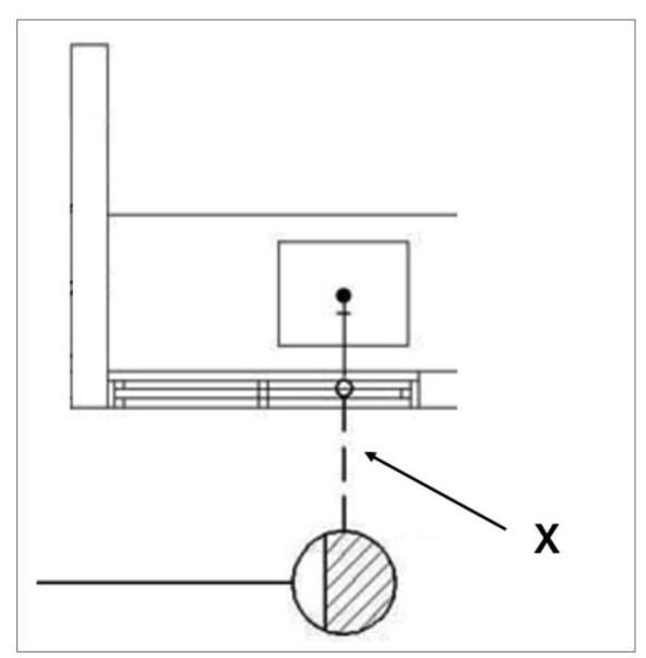
A figura a seguir apresenta parte da instalação de esgoto sanitário de uma edificação.

O diâmetro mínimo do ramal indicado por X é:
Provas
Em uma instalação predial de água fria com abastecimento direto, a tubulação ligada ao ramal predial ou diretamente ligada à fonte de abastecimento particular é denominada:
Provas
Um pintor deve realizar a pintura de uma parede de alvenaria, em bom estado, em que se recém aplicou reboco. Para que o serviço a ser executado tenha boa qualidade, dentre outras medidas, o pintor deve:
Provas
As camadas de impermeabilização fazem parte do sistema de proteção contra a passagem de água em elementos das construções, tais como lajes, paredes e reservatórios, cada uma possuindo função específica. Dentre essas camadas, aquela com a função de favorecer a aderência da camada impermeável, aplicada ao substrato a ser impermeabilizado, é denominada camada de:
Provas
A retirada das formas e dos escoramentos em estruturas de concreto armado só pode ser feita quando o concreto for capaz de resistir às ações que sobre ele atuem nesta etapa da obra e não provocar deformações inaceitáveis. Desse modo, desconsiderando a utilização de concretos cujas características de resistência e de deformação possam ser alcançadas mais rapidamente, o tempo mínimo para retirada dos escoramentos em uma estrutura de concreto armado é de:
Provas
A figura a seguir ilustra um ensaio realizado no concreto fresco.

(Fonte: https://www.hrpremo.com.br/blog-post/)
O nome desse ensaio e seu objetivo são, respectivamente:
Provas
- LicitaçõesLei 14.133/2021
- Legislação AdministrativaLei 13.303/2016: Estatuto Jurídico das EP's e SEM'sLei 13.303: Licitações
Provas
Caderno Container