Foram encontradas 950 questões.

O diagrama acima representa o ensaio de tração de um material com as seguintes características: deformação plástica precedida de uma deformação elástica, para atingir o rompimento. Pode-se então afirmar que este diagrama representa o ensaio de tração de um corpo de prova de
Provas

Assinale a opção que corresponde às vistas de frente e lateral direita da peça representada acima.
Provas

Qual é o tipo de chaveta representada no desenho acima?
Provas
O conjunto pinhão-cremalheira transforma movimento
Provas
As válvulas de expansão termostática são empregadas no controle da vazão do fluido
Provas
Um lustre de peso P deverá ser preso ao teto por um arame metálico de seção reta circular. Determine o diâmetro do arame (em mm) para que suporte, com um fator de segurança K, o peso do lustre.
Provas
A placa de orifício é utilizada para medir a
Provas
Segundo CEIAVERINI, '".. enquanto o martelamento produz deformação principalmente nas camadas superficiais, a prensagem atinge as camadas mais profundas e a deformação resultante é mais regular do que a que é produzida pela ação dinâmica do martelamento"
A que processo de fabricação faz referência a afirmativa acima?
Provas

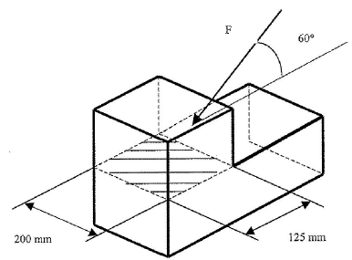
Qual é o valor, em MPa, da tensão de cisalhamento (\( \tau \)) que atua no plano hachurado da figura acima.
Dados: A força F faz um ângulo de 60º com a horizontal.
F = 300 kN
Provas

Qual a leitura, em mm, do paquímetro acima?
Provas
Caderno Container