Foram encontradas 50 questões.
Assinale a opção que apresenta o processo de usinagem adequado à fabricação de um eixo de diâmetros escalonados.
Provas
Analise as sentenças abaixo em relação aos casos em que se justifica o uso de juntas de expansão.
I - Para ligação direta entre dois equipamentos.
II - Em tubulações que por exigências de serviço devam ter trajetos diretos retilíneos, com um mínimo de perdas de carga e turbilhonamentos.
III- Em tubulações não sujeitas a vibrações de grande amplitude.
Provas
Assinale a opção que apresenta dois tipos de válvulas de bloqueio.
Provas
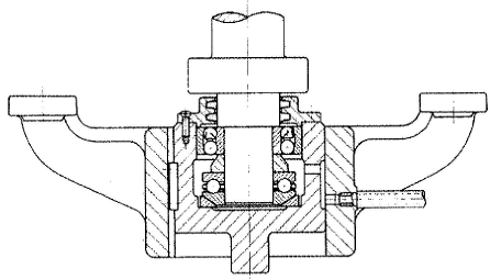
Observe o desenho abaixo.

Os rolamentos superior e inferior são, respectivamente:
Provas
Observe a figura abaixo.

“A figura representa a escala de leitura de um micrômetro utilizado para levantamento dimensional de peças, graduado em milímetros e meios milímetros, podendo medir até 25 mm e com aproximação de medidas de 1/100 mm (1 centésimo de miliímetro).
Assinale a opção que apresenta o valor indicado.
Provas
Em relação às vistas secionais, o corte parcial é aquele
Provas
Assinale a opção que apresenta dois tipos de bombas dinâmicas.
Provas
Analise a figura a seguir.

Com base na figura apresentada, qual é a tolerância da cota indicada?
Provas
Dos aços inoxidáveis existentes (em relação à microestrutura), qual é chamado de "endurecível"?
Provas
Analise o desenho a seguir.

No desenho isométrico apresentado, identifique os acessórios numerados e assinale a opção correta.
Provas
Caderno Container