Foram encontradas 50 questões.
Observe as figuras a seguir.

No desenho arquitetônico, os símbolos gráficos das ilustrações acima representam, respectivamente:
Provas
Observe as figuras a seguir.

Em uma instalação elétrica, os símbolos gráficos representam, respectivamente:
Provas
Observe a figura a seguir.

O desenho acima representa que tipo de dispositivo de comando dos circuitos em uma instalação elétrica?
Provas
Nas instalações prediais, que fenômeno se observa no escoamento de qualquer fluido em conduto forçado, quando o escoamento é bruscamente interrompido?
Provas
Como se denomina a tubulação que liga duas seções do reservatório superior, e da qual partem as derivações das diversas colunas de alimentação?
Provas
Uma cobertura é formada por superfícies planas inclinadas denominadas de planos de água. Qual o elemento da cobertura que é o encontro da captação de água entre dois planos de água?
Provas
Em um lote urbano, a linha projetada e locada para marcar o limite entre o lote e o logradouro público denomina-se
Provas
Desenhar sobre as VIEWPORTS é uma das principais utilidades do desenho no PSPACE. Em relação ao desenho desenvolvido no PSPACE, assinale a opção correta.
Provas
Em uma instalação predial de esgoto, o coletor predial é definido como
Provas
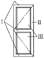
Observe a figura a seguir.

Em relação à ilstração acima, os elementos da esquadria indicados pelos números I, II e III representam, respectivamente:
Provas
Caderno Container