Foram encontradas 50 questões.
Segundo NBR-6492/1994, a planta que contém as informações de movimentos de terra, redes hidráulicas, elétrica e redes de drenagem é chamada de planta de
Provas
Em relação à Planta de Situação, de acordo com a escala do desenho, o número de detalhes representados pode variar, vindo a incluir também
Provas

Com base nas informações constantes do Anexo, considerando o quadro de áreas do referido projeto, os valores aproximados correspondentes à área construída e à taxa de ocupação são, respectivamente:
Provas
Observe a figura a seguir.

Assinale a opção que apresenta a correta associação dos itens apresentados acima.
Provas
A fundação que forma uma placa contínua em toda área de construção é denominada de
Provas
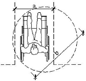
Analise a figura a seguir.

Para atender às condições de acessibilidade plena aos usuários portadores de necessidades especiais, em ambientes de acesso ao público, as medidas mínimas para a e b, apresentadas na figura acima, deverão ser, respectivamente:
Provas
Analise a figura a seguir.

Na estrutura de um telhado, a tesoura recebe tipos diferentes de solicitação em suas peças. Algumas peças que sofrem tração são o tirante, o suspensório e o frechal, indicados na figura acima, respectivamente, pelas letras
Provas
Para construir uma rampa,que atenda a lei de acessibilidade, aquela deve ter uma inclinação de 6%. Qual será o comprimento da rampa para vencer uma altura de 0,90m?
Provas
A representação de caimentos é aplicada para telhados, rampas e planos inclinados em geral. Qual dos seguintes símbolos é usado apenas em plantas?
Provas
No AUTOCAD, em uma tabela de estilos de plotagem, que opção da caixa de diálogo indica a intensidade da cor, ou seja, determina a quantidade de tinta que será lançada pela impressora durante a impressão?
Provas
Caderno Container