Foram encontradas 50 questões.
Analise as figuras a seguir.

Assinale a opção que apresenta corretamente as associações dos cortes realizados na figura acima (pentágono) com as vistas resultantes.
Provas
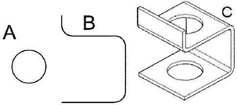
Assinale as figuras a seguir.

Assinale a opção que relaciona a sequência de comandos do AUTOCAD que viabiliza o resultado do desenho da figura C, acima, partindo-se dos desenhos representados nas figuras A-POLYLINE e B-CIRCLE.
Provas
Em relação à aplicação de áreas de luz e sombras ao desenho à mão livre, assinale a opção correta.
Provas


Com base nas informações constantes do Anexo, qual será a altura aproximada da cumeeira do telhado da residência representada nas plantas de situação e baixa, considerando-se que serão utilizadas telhas francesas, a 33% de caimento?
Provas
Segundo definição da NBR 6492 - Representação de projetos de arquitetura, um dos documentos eventuais apresentados na fase de Anteprojeto é
Provas
Segundo a NBR 8403/1984, as cores das canetas têm relação com a largura das linhas. A cor amarela corresponde a que espessura?
Provas
Segundo NBR-6492/1994, assinale a opção que apresenta um exemplo de documento típico de um estudo preliminar.
Provas
Segundo a NBR 10068 - Folha de desenho - Leiaute e dimensões, assinale a opção correta.
Provas
Analise a planta de instalações elétricas a seguir.

Assinale a opção que apresenta, respectivamente, a definição dos símbolos indicados acima pelas letras A, B, C, D e E.
Provas
Analise a figura a seguir.

De acordo com a norma da ABNT, NBR 6492/1994, caso seja necessário o dobramento de pranchas de desenho de um projeto, o formato final deve ser o A4. Qual é a dimensão indicada pela letra " x " na figura de um papel em formato A1 acima, com indicação de suas dobraduras?
Provas
Caderno Container