Foram encontradas 50 questões.
Certa escala termométrica X foi criada escolhendo-se o ponto de ebulição do etanol à pressão normal como 0ºX e o ponto de ebulição da água à pressão normal como 100°X. Sabendo-se que, na escala Celsius, a temperatura média da cidade de Curitiba no mês de julho é de 12,9°C e o ponto de ebulição do etanol à pressão normal é de 78,4°C, pode-se afirmar que a temperatura média, em ºX, da capital paranaense em julho é:
Provas
Deseja-se produzir, num alto-forno, a elevação da temperatura de um certo metal de l000ºC para 2000ºC. A temperatura de fusão do metal é de 1300ºC, seu calor de fusão é de 50,0cal/g e seus calores específicos na fase sólida e líquida são, respectivamente, O, 300cal/g°C e 0,500cal/g°C. Sabendo-se que o quilowatt-hora está sendo cobrado à razão de R$0,58 e admitindo-se um rendimento de 100%, o custo, em reais(R$), do processo por quilograma de metal é de
Dado: 1,0cal = 4,18Joules
Provas
O coeficiente de dilatação linear do mercúrio é 6, 00x10-5 °C-1 , e sua massa específica, a 0ºC, é 13,60g/cm3. A massa específica do mercúrio, em g/cm3, a 100ºC, é
Provas
Num experimento, um bloco metálico, à temperatura inicial de 120ºC, é imerso numa determinada quantidade de um certo líquido à temperatura de 15ºC, atingindo-se uma temperatura final de equilíbrio térmico de 40°C. Num segundo experimento, o mesmo bloco metálico é imerso na mesma quantidade do mesmo líquido, porém à temperatura de 20ºC, obtendo-se uma temperatura final de equilíbrio de 50ºC. Pode-se afirmar que a temperatura inicial do bloco metálico, em ºC, no segundo experimento era, aproximadamente, de:
Provas
A área da seção transversal máxima de um corpo opaco mede 1,00dm2 , e esse corpo está sendo iluminado por uma fonte luminosa puntiforme situada a 500mm de um anteparo plano, sobre o qual projeta-se a sombra do corpo. Sabendo-se que o anteparo é paralelo à seção transversal do corpo em questão e dista 300mm dele, pode-se afirmar que a área da sombra, em dm2, é:
Provas
Numa região limitada do espaço, existe um potencial elétrico dado por V(x,y) =A.exp [k(x-y)], onde A é uma constante negativa e k uma constante positiva, ambas com a dimensão apropriada. Caso se identifique a direção norte com o eixo y positivo e a direção leste com o eixo x positivo, pode-se dizer que, na origem, o vetor campo elétrico aponta para
Provas
O fenômeno do efeito fotoelétrico consiste na liberação de elétrons pela superfície de um metal, após a absorção da energia proveniente da radiação eletromagnética incidente sobre ele, de tal modo que a energia total da radiação seja parcialmente transformada em energia cinética dos elétrons expelidos. Analise as afirmativas abaixo, relativas à explicação desse fenômeno, tendo por base o modelo corpuscular da luz.
I - A energia cinética máxima dos elétrons expelidos depende apenas da intensidade da radiação eletromagnética incidente e da função trabalho do metal.
II - Os elétrons com energia cinética nula adquiriram energia suficiente para serem arrancados do metal.
III- Para que os elétrons sejam expelidos do metal, é necessário que a intensidade da radiação incidente seja suficientemente alta, independentemente da frequência da radiação.
Assinale a opção correta.
Provas
Analise a figura abaixo.

No sistema da figura, os blocos de massas m1 e m2 possuem acelerações !$ \vec{a}_1 = \vec{a}_2 = \dfrac{1}{5}g\hat{j} !$ , respectivamente, onde g é a aceleração da gravidade. Sabendo que as massas das polias e das cordas são desprezíveis, assinale a opção que apresenta o vetor aceleração do bloco de massa m3=3kg.
Provas
Analise a figura abaixo.

A figura acima mostra uma escada, com massa uniformemente distribuída, apoiada em uma parede vertical sem atrito. A extremidade inferior da escada está sobre uma superfície horizontal irregular. Sabendo que o coeficiente de atrito estático entre a escada e a superfície horizontal é μ e que 0 é o ângulo entre a escada e a parede, assinale a opção que apresenta uma condição necessária e suficiente para que a escada permaneça em equilíbrio.
Provas
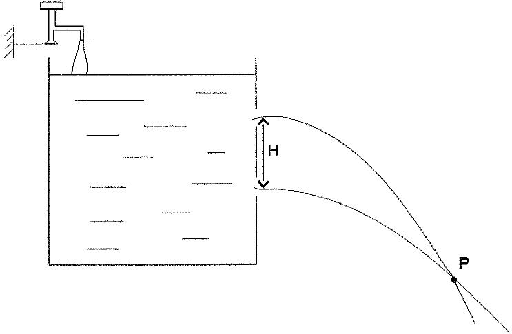
Analise a figura abaixo.

A figura mostra um recipiente sendo abastecido, em cada segundo, com 140cm3 de água. Esse recipiente apresenta dois jatos de água saindo por orifícios de mesma área, S=0,20cm2. A distância entre os orifícios é igual a H=50cm. Para que o ponto P de interseção dos jatos permaneça em repouso, qual é o valor da soma das velocidades, em m/s, com que os jatos d'água saem dos orifícios?
Provas
Caderno Container