Foram encontradas 50 questões.
A respeito do SCR, assinale a opção INCORRETA.
Provas
Observe a figura abaixo:

Cada fase de um gerador conectado em estrela entrega uma corrente de 30A a uma tensão de fase de 254V, com um fator de potência de 0,8 atrasado. Determine a potência do sistema trifásico e assinale a opção correta.
Provas
Observe o circuito abaixo.

Com base no circuito acima, calcule a corrente I aproximada, considerando uma resistência RL de !$ 5 \Omega !$ e assinale a opção correta.
Provas
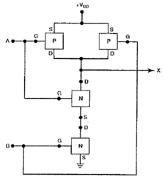
Observe o circuito abaixo:

O circuito acima é a implementação em CMOS da porta lógica:
Provas
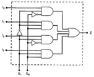
Analise o diagrama a seguir.

Assinale a opção que apresenta o nome do circuito lógico correspondente ao diagrama acima.
Provas
Observe o circuito abaixo:

No circuito acima, há uma lâmpada de 120V, 60W. Qual deve ser o valor da tensão de alimentação Vs para que a lâmpada opere sob condições nominais?
Provas
Analise o circuito abaixo.

A partir do circuito acima, assinale a opção que apresenta, respectivamente, os valores aproximados de RTH e VTH do equivalente Thevenin entre os terminais a e b.
Provas
Em relação aos controladores lógicos programáveis, analise as afirmativas abaixo.
I- O transdutor é um dispositivo cuja função é converter o sinal elétrico oriundo do CLP em uma condição física, normalmente ligando ou desligando algum equipamento.
II- Em relação à lógica com relés, o CLP tem como vantagem a facilidade de verificação de funcionamento e a imunidade a ruídos elétricos e interferências eletromagnéticas.
III- De forma geral, o CLP possui dois modos de operação: programação ou execução.
Assinale a opção correta.
Provas
Observe a figura abaixo:

O circuito acima ilustra uma ponte de Wheatstone em que é usada uma resistência em barra. Sabe-se que a barra tem uma resistência uniforme ao longo de seu comprimento, que é de 1 m. Se o equilíbrio da ponte ocorre com a barra a uma distância de 25cm do topo, qual será o valor de Rx e da leitura no galvanômetro, respectivamente, nessa situação?
Provas
Observe a figura abaixo:

O propósito do contato Q1 exibido na figura é:
Provas
Caderno Container