Foram encontradas 650 questões.
Nesse sistema de injeção de combustível, a produção de pressão e a injeção são fenômenos independentes. A bomba fornece combustível sobre pressão mesmo em baixas rotações do motor. A sua principal vantagem é aliar alta pressão de injeção com a possibilidade de se realizarem injeções múltiplas e com flexibilidade para ajustar o início de injeção, de modo a adaptar cada um desses requisitos do regime de funcionamento do motor. De acordo com a descrição, como é chamado esse sistema?
Provas
Observe o desenho abaixo:

Em se tratando de desenho técnico, qual perspectiva foi aplicada nesse desenho?
Provas
A função do fluido de corte é introduzir uma melhoria no processo de usinagem dos metais. Assinale a opção que NÃO é uma melhoria de caráter funcional.
Provas
Quanto à refrigeração da ferramenta utilizada nos processos de usinagem, assinale a opção correta.
Provas
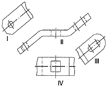
A figura abaixo representa vistas geométricas de uma mesma peça.

Os índices I, II, III e IV são, respectivamente:
Provas
O acoplamento com luva de compressão, a junta homocinética e o acoplamento perflex são exemplos de acoplamentos respectivamente do tipo:
Provas
Em desenho técnico, o tipo de corte utilizado quando é necessário mostrar uma parte interna de um objeto, mas, por não ser possível a utilização de um corte completo, pois retiraria algumas partes essenciais à compreensão do desenho, é utilizado um plano de corte que se estende até onde for necessário. Esse corte é chamado de:
Provas
Referente às diferenças fundamentais entre os motores ciclos Otto e Diesel a quatro tempos, assinale a opção correta.
Provas
Com relação aos tipos de roscas de parafusos e suas principais aplicações, assinale a opção correta.
Provas
A aproximação de um Vórtice Ciclônico de Altos Níveis (VCAN) do nordeste brasileiro, vindo do oceano Atlântico, tem por característica:
Provas
Caderno Container