Foram encontradas 50 questões.
Examine o esquema abaixo, no qual "Av" é o ganho de tensão.

Com relação ao esquema acima, assinale a opção que apresenta o valor correto de P2.
Provas
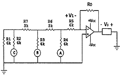
Analise o circuito ilustrado abaixo.

Esse circuito pode ser descrito como:
Provas
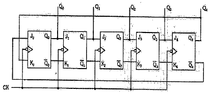
Examine a figura abaixo.

A figura acima apresenta um contador Johnson feito com flip-flops JK M-E.
Considerando que os estados iniciais de Q4, Q3, Q2, Q1 e Q0 são todos "0", é correto afirmar que logo após a descida do 3° pulso de clock, o estado das portas Q2, Q1 e Q0 será respectivamente:
Provas
Sobre as diferenças entre fibras monomodo e fibras multimodo, assinale a opção correta.
Provas
Suponha que para extrair um sinal de banda base de 75 MHz é necessário construir um filtro passivo passa-baixa. Olhando os materiais disponíveis, encontram-se somente alguns resistores e capacitores. Sabendo que em 80 MHz a potência percebida deve ser no mínimo a metade da potência de entrada, assinale a opção que apresenta os possíveis valores de cada resistor e capacitor empregados no circuito.
Dados: Considere \( 2 \pi = 6 \) e \( { \large 1 \over 48} = 0,02 \).
Provas
Há um descasamento de impedâncias entre a linha de transmissão e uma antena que é usada na faixa HF, entre 3 e 30 MHz, para transmitir sinais com largura de banda de 3 kHz. A impedância de entrada da antena é de \( 100 \Omega \), mas a linha de transmissão tem impedância característica de \( 50 \Omega \).
Foi proposto mitigar esse descasamento de impedância colocando um trecho de linha de transmissão de impedância característica \( 75 \Omega \), com comprimento de 7,5 m em série entre a linha de transmissão de \( 50 \Omega \) e a entrada da antena. O arranjo completo foi testado a partir da fonte. Sobre a solução proposta é correto afirmar que:
Dados:
Z0: impedância característica do meio; ZL:impedância da carga; \( \beta = 2 \pi / \lambda \); e
\( Z_{(Z)} = Z_0 . { \large Z_L - jZ_0tg(\beta Z) \over Z_0 - jZ_Ltg(\beta Z)} \) : impedância medida na linha de transmissão à distância z da carga.
Provas
Examine o circuito abaixo.

Com base no circuito acima, calcule a potência máxima que a bateria libera para o resistor de carga e assinale a opção correta.
Dado: Resistência interna \( (RI) = 5 \Omega \).
Provas
Observe a tabela abaixo.

A expressão booleana que está representada na tabela acima é:
Provas
Assinale a opção que apresenta os campos pertencentes ao cabeçalho UDP.
Provas
Analise a figura a seguir.

A figura acima ilustra um circuito com duas malhas (malha 1 e malha 2). A malha 1 é formada pelo percurso a-b-c-d-a, e a malha 2 é formada pelo percurso a-d-e-f-a. Com base nessas informações, assinale a opção que apresenta os valores de V1 , V2 , V3, I1 e I2, respectivamente.
Dados: \( V_A = 60V /V_B = 12V /R_1 = 6 \Omega/R_2 = R_3 = 3 \Omega \).
Provas
Caderno Container