Foram encontradas 50 questões.
A classificação dos materiais magnéticos e não magnéticos baseia-se nas fortes propriedades magnéticas do ferro. Assim, um material paramagnético tem permeabilidade relativa quando:
Provas
Observe o circuito abaixo.

Sabendo que a corrente Ix = 0, ou seja, não há diferença de potencial entre os pontos C e D, determine o valor da corrente I e assinale a opção correta.
Provas
No que se refere a aplicações e princípios da eletrônica digital, um multiplexador é:
Provas
Considere um transformador de potência que possui razão de espiras de 1:5. Sabendo que a bobina do secundário possui 400 espiras, determine o número de espiras do primário, e assinale a opção correta.
Provas
Observe o circuito abaixo.

Sabendo que a corrente \( I_x=0 \), ou seja, não há diferença de potencial entre os pontos C e D, determine o valor da resistência R3 e assinale a opção correta.
Provas
Observe o circuito abaixo.

Para o circuito amplificador apresentado acima, qual é o valor do ganho na saída, em módulo, usando dB?
Dado: Rf = 100R1.
Provas
Observe o circuito abaixo.

Com base nessas informações, determine o valor da corrente I, e o valor da potência dissipada no resistor de 6R \( Ω \), respectivamente e assinale a opção correta.
Dado: R = 10 \( Ω \).
Provas
Em uma porta lógica OR de duas entradas, a saída será igual a zero sempre que as entradas também forem iguais a:
Provas
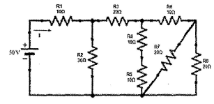
Observe o circuito abaixo.

Com base nessas informações, determine o valor da resistência total do circuito e o valor da corrente I, respectivamente e assinale a opção correta.
Provas
Observe o circuito abaixo.

Com base nessas informações, determine o valor da diferença de potencial entre os pontos B e D e assinale a opção correta.
Provas
Caderno Container